授权公布号:CN213869476U
断桥平开门窗内转窗框型材
有效
申请
2020-11-30
申请公布
1970-01-01
授权
2021-08-03
预估到期
2030-11-30
| 申请号 | CN202022815440.6 |
| 申请日 | 2020-11-30 |
| 授权公布号 | CN213869476U |
| 授权公告日 | 2021-08-03 |
| 分类号 | E06B3/00;E06B3/36;E06B1/32;E06B3/263;E06B7/22;E06B5/16;E06B5/20;E06B7/14;E06B9/52 |
| 分类 | 一般门、窗、百叶窗或卷辊遮帘;梯子; |
| 申请人名称 | 上海绿娃科技有限公司 |
| 申请人地址 | 上海市嘉定区马陆镇丰年路88弄20号 |
专利法律状态
2021-08-03
授权
状态信息
授权
摘要
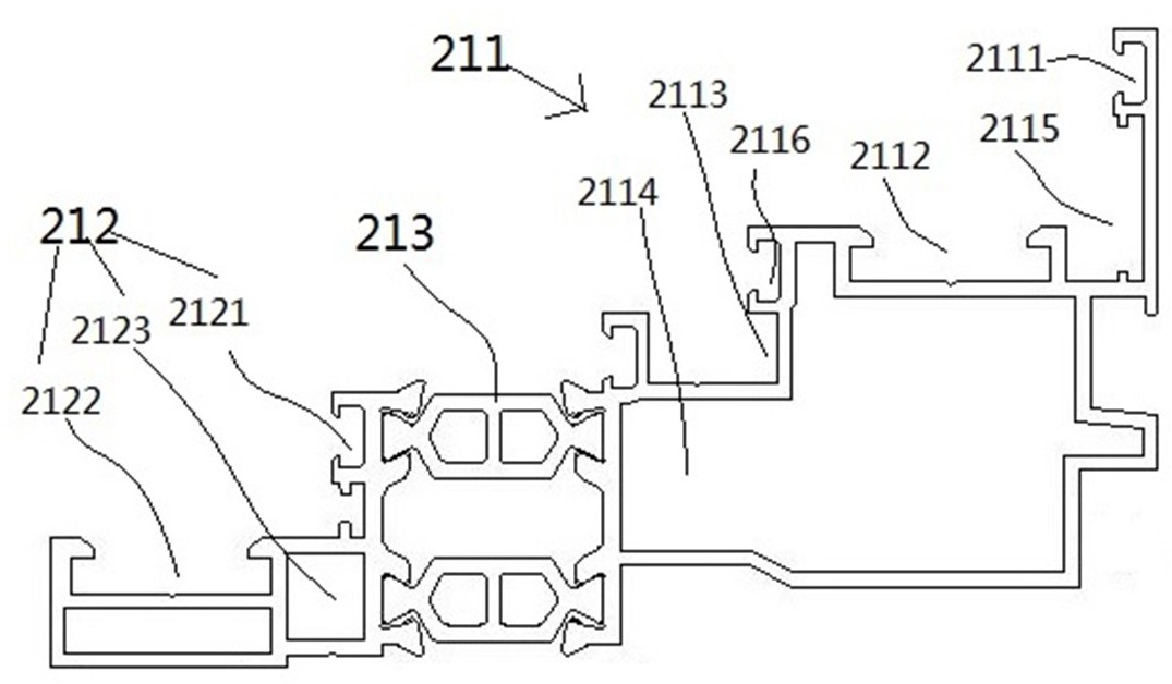
本实用新型公开了一种断桥平开门窗内转窗框型材,包含框架,框架内设有开扇框,开扇框用于安装外部的门窗扇,开扇框与门窗扇通过槽口配合安装,还包含:设置在开扇框内的内转框,用于匹配门窗扇,内转框包含:外框、内框和隔热条,外框匹配门窗扇的外侧,内框匹配门窗扇的内侧,隔热条连接外框和内框。本实用新型采用堵水与排水相结合,在开扇部分增加内转框,既提高了窗户的防水性能,而且能够起到隔音、隔热效果。


