授权公布号:CN210602167U
一种防滑空调护套管
有效
申请
2019-05-14
申请公布
1970-01-01
授权
2020-05-22
预估到期
2029-05-14
| 申请号 | CN201920684600.2 |
| 申请日 | 2019-05-14 |
| 授权公布号 | CN210602167U |
| 授权公告日 | 2020-05-22 |
| 分类号 | F24F13/00;F16L57/00 |
| 分类 | 供热;炉灶;通风; |
| 申请人名称 | 浙江中财型材有限责任公司 |
| 申请人地址 | 浙江省杭州市经济技术开发区11号大街6号 |
专利法律状态
2020-05-22
授权
状态信息
授权
摘要
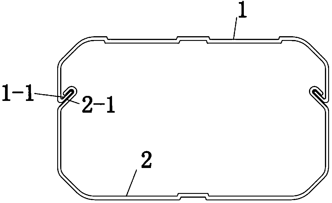
一种防滑空调护套管,包括上盖、下盖,上盖的底部带有卡扣钩,下盖的顶部带有卡扣槽,卡扣钩纳入卡扣槽形成卡扣,上盖和下盖通过卡扣连接,卡扣钩两侧和卡扣槽内壁均有共挤防滑材料层。下盖通过打钉固定于墙上,上、下盖采用卡扣连接方式,便于使用时的安装方便。在上下盖的卡扣连接处,表面共挤防滑层,增加上、下盖卡扣位置的相互摩阻力,减少上、下盖之间的滑动,防止护套管在安装后由于上、下盖管滑动造成的盖管脱落,影响美观。


