授权公布号:CN214789701U
一种铜嵌件及具有铜嵌件的内螺纹管接头
有效
申请
2021-03-10
申请公布
1970-01-01
授权
2021-11-19
预估到期
2031-03-10
| 申请号 | CN202120510795.6 |
| 申请日 | 2021-03-10 |
| 授权公布号 | CN214789701U |
| 授权公告日 | 2021-11-19 |
| 分类号 | F16L43/00 |
| 分类 | 工程元件或部件;为产生和保持机器或设备的有效运行的一般措施;一般绝热; |
| 申请人名称 | 浙江中财型材有限责任公司 |
| 申请人地址 | 浙江省杭州市杭州经济技术开发区11号大街6号 |
专利法律状态
2021-11-19
授权
状态信息
授权
摘要
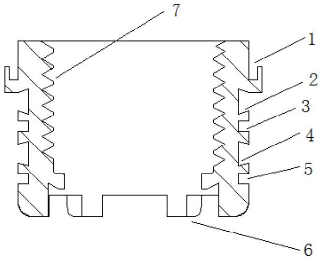
一种铜嵌件,包括铜嵌件本体,铜嵌件本体内具有上下贯通的通孔;铜嵌件本体的内周壁设有内螺纹,铜嵌件本体的外周壁从上至下间隔设置有竖向环形凹槽、第一横向环形燕尾槽、第一横向环形凹槽、第二横向环形燕尾槽、第二横向环形凹槽;竖向环形凹槽的外壁面沿周向间隔设有多个侧向止转凸块;铜嵌件本体的下端面沿周向间隔分布有多个底部止转凸块。本实用新型还提供一种具有铜嵌件的内螺纹管接头。本实用新型铜嵌件防水效果好,且通过在竖向环形凹槽侧面的侧向止转凸块和铜嵌件底部的止转凸块的设计可以更好的阻止铜嵌件与聚烯烃材料层受力时发生位移开裂。


