授权公布号:CN211416202U
一种无级喂料分流装置
有效
申请
2019-10-29
申请公布
1970-01-01
授权
2020-09-04
预估到期
2029-10-29
| 申请号 | CN201921833571.8 |
| 申请日 | 2019-10-29 |
| 授权公布号 | CN211416202U |
| 授权公告日 | 2020-09-04 |
| 分类号 | B29C48/285 |
| 分类 | 塑料的加工;一般处于塑性状态物质的加工; |
| 申请人名称 | 华之杰塑料建材有限公司 |
| 申请人地址 | 浙江省湖州市徳清具武康镇中兴北路898号 |
专利法律状态
2020-09-04
授权
状态信息
授权
摘要
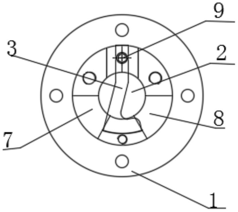
本实用新型涉及一种无级喂料分流装置,包括机座,机座底部与喂料螺筒固定连接,其内部形成有一个物料腔,机座两侧分别设有加料口与回料口;滑动块,所述滑动块包括摆杆以及止挡部,所述摆杆的一端转动设置在机座上,另一端与止挡部连接,摆杆的转动带动止挡部在物料腔内进行径向运动,以使其能够封闭所述回料口或者加料口。本实用新型能实现精准喂料。


