授权公布号:CN111070831B
一种高保温隔热隔音耐候PVC-U型材、制备方法及应用
有效
申请
2019-12-13
申请公布
2020-04-28
授权
2021-10-12
预估到期
2039-12-13
| 申请号 | CN201911281478.5 |
| 申请日 | 2019-12-13 |
| 申请公布号 | CN111070831A |
| 申请公布日 | 2020-04-28 |
| 授权公布号 | CN111070831B |
| 授权公告日 | 2021-10-12 |
| 分类号 | B32B27/08;B32B27/20;B32B27/30;B32B27/06;B32B5/18;B32B9/00;B32B9/04;B29C48/92;C08L27/06;C08L23/28;C08K9/10;C08K3/22;C08K3/26;C08J9/10;C08J9/08;C08L51/04 |
| 分类 | 层状产品; |
| 申请人名称 | 华之杰塑料建材有限公司 |
| 申请人地址 | 浙江省湖州市德清县武康镇中兴北路898号 |
专利法律状态
2021-10-12
授权
状态信息
授权
2020-05-22
实质审查的生效
状态信息
实质审查的生效;IPC(主分类):B32B27/08;申请日:20191213
2020-04-28
公布
状态信息
公布
摘要
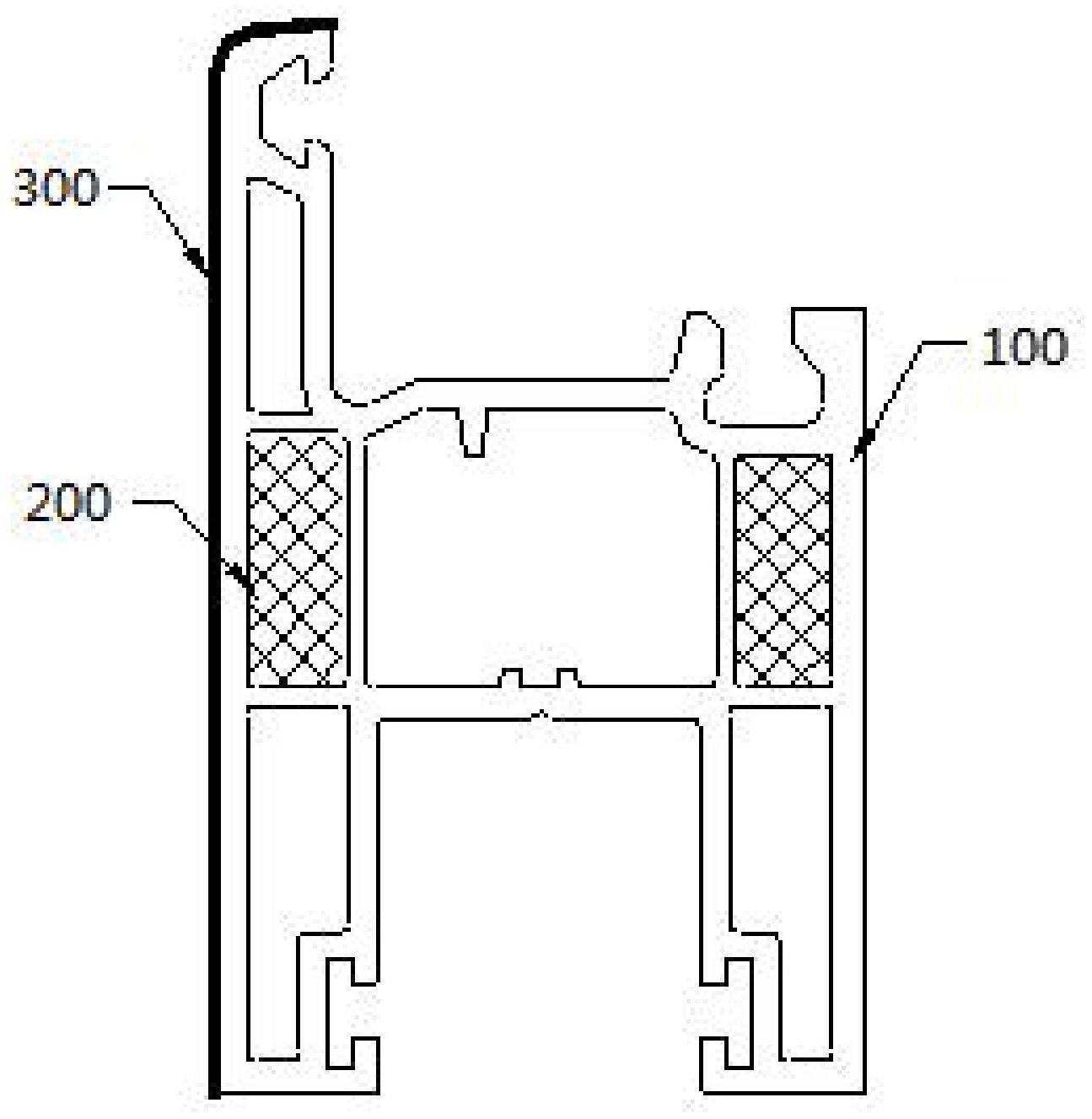
本发明涉及一种高保温隔热隔音耐候PVC‑U型材、制备方法及应用,包括半成品PVC‑U型材(100),所述半成品PVC‑U型材的内部填充有PVC微发泡材料(200);所述半成品PVC‑U型材按重量份包括以下组分,PVC80~95份,氯化聚乙烯5~13份,金红石型钛白粉8~10份,碳酸钙8~13份,稳定剂3~5份;所述PVC微发泡材料按重量份包括以下组分,PVC95~110份,抗冲改性剂8~10份,热稳定剂3~5份,有机发泡剂AC0.3~0.6份,无机发泡剂碳酸氢钠0.7~1.2份,发泡调节剂10~12份,抗氧剂0.2~0.4份,碳酸钙15~25份;所述金红石型钛白粉为从内向外依次包覆硅铝层和有机硅层的金红石型钛白粉。本发明具有兼顾高保温、隔热、隔音和耐候综合性能的特点。


