授权公布号:CN219004186U
一种铜门生产用折弯装置
有效
申请
2022-11-04
申请公布
1970-01-01
授权
2023-05-12
预估到期
2032-11-04
| 申请号 | CN202222935402.3 |
| 申请日 | 2022-11-04 |
| 授权公布号 | CN219004186U |
| 授权公告日 | 2023-05-12 |
| 分类号 | B21D5/06;B21D43/00;B21D43/08 |
| 分类 | 基本上无切削的金属机械加工;金属冲压; |
| 申请人名称 | 浙江菲尔特工贸有限公司 |
| 申请人地址 | 浙江省金华市东阳市六石街道长松岗工业功能区 |
专利法律状态
2023-11-07
专利权质押合同登记的生效、变更及注销
状态信息
专利权质押合同登记的生效;IPC(主分类):B21D5/06;专利号:ZL2022229354023;登记号:Y2023980061921;登记生效日:20231020;出质人:浙江菲尔特工贸有限公司;质权人:浙江东阳农村商业银行股份有限公司;实用新型名称:一种铜门生产用折弯装置;申请日:20221104;授权公告日:20230512
2023-05-12
授权
状态信息
授权
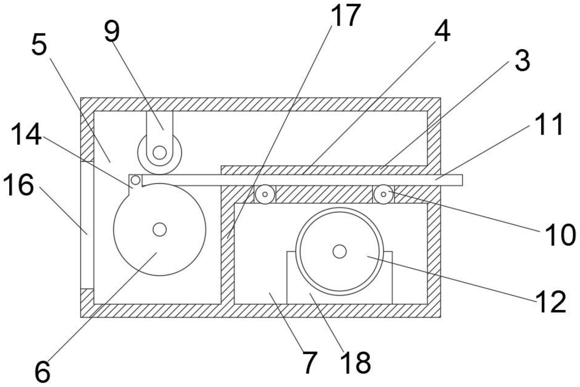
摘要
本实用新型公开了一种铜门生产用折弯装置,包括装置壳体、控制面板以及成型盘;所述控制面板设置于装置壳体一侧,装置壳体内部一侧设置有导向座,且导向座中央设置有导向槽;所述导向座下方安装有呈L型结构的挡板,通过导向座与挡板将装置壳体内部分隔形成折弯腔以及用于安装传动装置的传动腔;所述成型盘铰接于折弯腔内,并通过传动腔内的传动装置驱动;所述成型盘上端与导向槽平齐。本实用新型将铜门插入导向槽后,便可直接带动成型盘转动,进而对铜门进行折弯,无需在在折弯时需要多次挤压折弯成型。


