授权公布号:CN108483168B
阻止装置和电梯系统
有效
申请
2018-05-25
申请公布
2018-09-04
授权
2024-03-08
预估到期
2038-05-25
| 申请号 | CN201810518935.7 |
| 申请日 | 2018-05-25 |
| 申请公布号 | CN108483168A |
| 申请公布日 | 2018-09-04 |
| 授权公布号 | CN108483168B |
| 授权公告日 | 2024-03-08 |
| 分类号 | B66B5/00;B66B7/00 |
| 分类 | 卷扬;提升;牵引; |
| 申请人名称 | 通力电梯有限公司 |
| 申请人地址 | 江苏省苏州市昆山市玉山镇古城中路88号 |
专利法律状态
2024-03-08
授权
状态信息
授权
2018-09-28
实质审查的生效
状态信息
实质审查的生效;IPC(主分类):B66B5/00;申请日:20180525
2018-09-04
公布
状态信息
公布
摘要
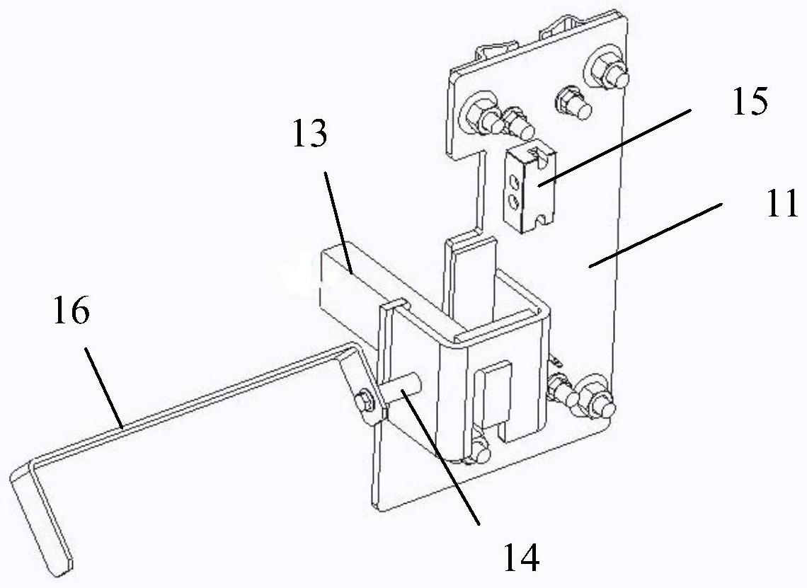
本发明涉及阻止装置和电梯系统。阻止装置包括固定板、枢转轴、撞杆和手柄,固定板在邻近底坑处固定安装到电梯导轨附近,枢转轴可枢转地且可沿枢转轴轴线方向移动地安装到固定板,撞杆安装到枢转轴,手柄配置成控制撞杆的移动,撞杆能够在非工作位置和工作位置之间切换,在非工作位置,撞杆沿竖直方向取向,并且由于受到固定板的阻挡而不能直接枢转,在撞杆的工作位置,撞杆沿水平方向取向,位于电梯轿厢的移动路径上,从而阻挡电梯轿厢的移动,在撞杆从非工作位置向工作位置切换时,用户操作手柄使撞杆沿枢转轴轴线方向移动到不受固定板阻挡的位置,然后枢转至水平取向。该阻止装置体积小、结构紧凑,同时在电梯安装和维修期间保证安全性。


