授权公布号:CN207499737U
一种铝塑保温窗结构
有效
申请
2017-11-06
申请公布
1970-01-01
授权
2018-06-15
预估到期
2027-11-06
| 申请号 | CN201721461495.3 |
| 申请日 | 2017-11-06 |
| 授权公布号 | CN207499737U |
| 授权公告日 | 2018-06-15 |
| 分类号 | E06B5/16;E06B3/263;E06B3/58 |
| 分类 | 一般门、窗、百叶窗或卷辊遮帘;梯子; |
| 申请人名称 | 辽宁新世界科技股份有限公司 |
| 申请人地址 | 辽宁省鞍山市千山优格街19号 |
专利法律状态
2018-06-15
授权
状态信息
授权
摘要
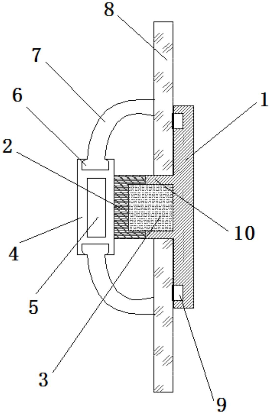
本实用新型公开一种铝塑保温窗结构,外侧的铝合金框架上设置压条槽及支腿,玻璃设置在所述支腿上,压条嵌入所述压条槽中并与玻璃抵接;玻璃的内侧与塑料卡口贴紧,所述卡口的形状为弧形,卡口的端头嵌入连接块上、下方向设置的卡槽中;所述连接块与塑料过渡块固定,所述过渡块与铝合金框架的支腿连接;过渡块与铝合金框架间设置矩形槽,所述矩形槽中填充保温条;本实用新型的优点是:由于外侧设置了铝合金的框架,因此,强度较好,而内侧设置了塑料连接块与塑料过渡块,且塑料过渡块与铝合金框架间设置了由保温材料制备的保温条,因此,保温效果好。


