授权公布号:CN210584782U
一种混料机
有效
申请
2019-09-02
申请公布
1970-01-01
授权
2020-05-22
预估到期
2029-09-02
| 申请号 | CN201921440546.3 |
| 申请日 | 2019-09-02 |
| 授权公布号 | CN210584782U |
| 授权公告日 | 2020-05-22 |
| 分类号 | B01F13/10;B01F15/06 |
| 分类 | 一般的物理或化学的方法或装置; |
| 申请人名称 | 辽宁新世界科技股份有限公司 |
| 申请人地址 | 辽宁省鞍山市千山区优格街19号 |
专利法律状态
2020-05-22
授权
状态信息
授权
摘要
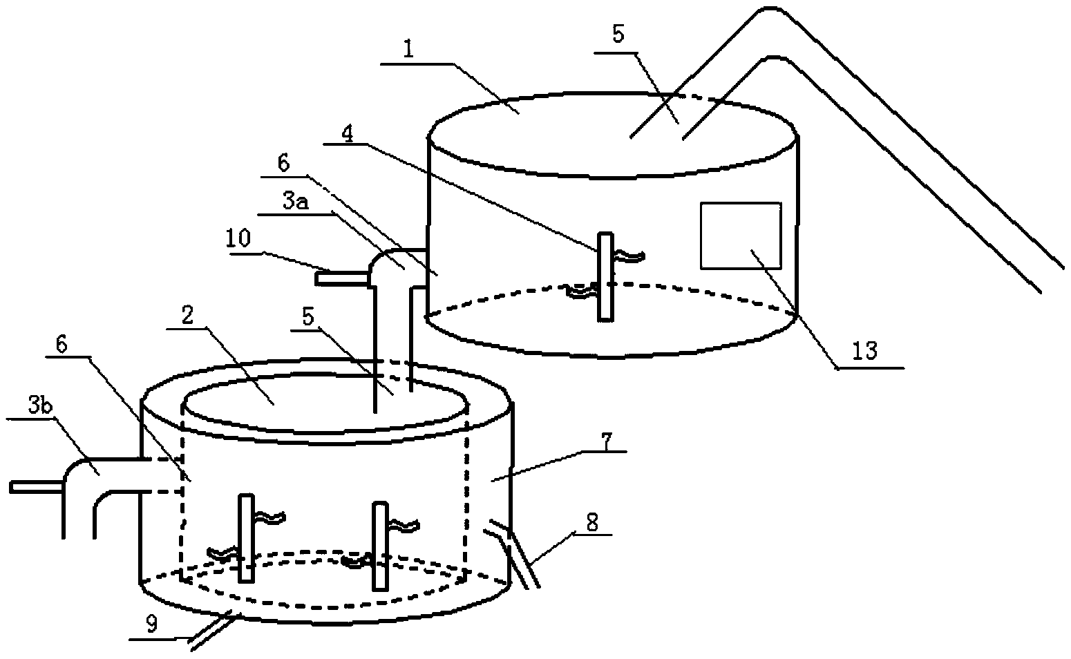
本实用新型公开了一种混料机,包括热混筒、冷混筒、出料装置和搅拌器;所述热混筒内壁设置加热板,顶部设置进料口,侧壁设置出料口,腔体底部设置1个搅拌器;所述冷混筒包括一个内圆筒和一个外圆筒,内圆筒和外圆筒之间注入冷凝水,外筒壁上设置进水口和出水口,冷混筒顶部设置进料口,侧壁设置出料口,腔体底部设置2个搅拌器;所述出料装置设置2个,通过第一出料装置连接热混筒的出料口和冷混筒的进料口实现热混筒和冷混筒的连接;第二出料装置与冷混筒的出料口连接。本实用新型通过冷热二次混料及搅拌叶的设计,解决了混料不均匀和原料粘结的问题。


