授权公布号:CN217871175U
一种易组装自带美缝轻质墙板
有效
申请
2021-08-18
申请公布
1970-01-01
授权
2022-11-22
预估到期
2031-08-18
| 申请号 | CN202121931836.5 |
| 申请日 | 2021-08-18 |
| 授权公布号 | CN217871175U |
| 授权公告日 | 2022-11-22 |
| 分类号 | E04B2/74;E04B2/82;E04B1/61 |
| 分类 | 建筑物; |
| 申请人名称 | 辽宁新世界科技股份有限公司 |
| 申请人地址 | 辽宁省鞍山市千山区优格街19号 |
专利法律状态
2022-11-22
授权
状态信息
授权
摘要
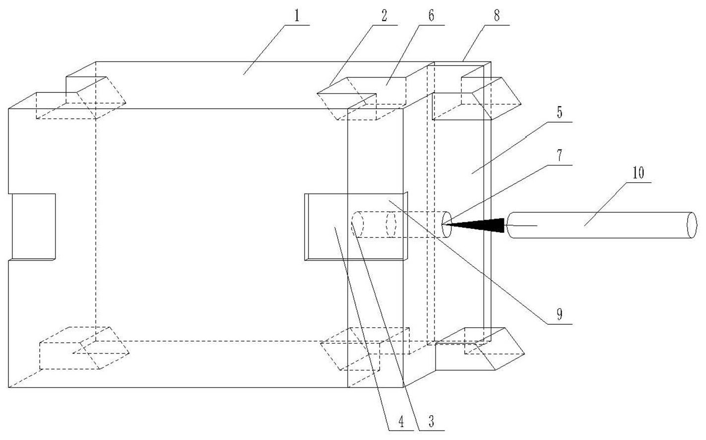
本实用新型涉及高效建筑节能技术领域,特别涉及一种易组装自带美缝轻质墙板。包括墙板本体和连接件,墙板本体开设卡接角槽,水平两端开设墙板边孔,墙板本体的背面外侧中间开设沉槽;连接件的正面固定美缝条,水平两个端面顶部和底部分别设置卡接角块,卡接角块与卡接角槽的位置和形状匹配,两个卡接角块之间开设连接件边孔,连接件的背面中间水平开设背槽,边孔销插入墙板边孔及连接件边孔内;连接板安装在沉槽及背槽内,由螺钉拧紧固定。本实用新型墙板的接头处采用连接件进行拼接,牢固且连接板不会突出于墙板本体和连接板的外表面,不影响外观。连接件有一面是美缝条,拼接处更加美观。本实用新型的墙板容易拆装,不影响二次使用。


