授权公布号:CN210590936U
一种覆膜贴合装置
有效
申请
2019-08-30
申请公布
1970-01-01
授权
2020-05-22
预估到期
2029-08-30
| 申请号 | CN201921427118.7 |
| 申请日 | 2019-08-30 |
| 授权公布号 | CN210590936U |
| 授权公告日 | 2020-05-22 |
| 分类号 | B32B37/10 |
| 分类 | 层状产品; |
| 申请人名称 | 辽宁新世界科技股份有限公司 |
| 申请人地址 | 辽宁省鞍山市千山区优格街19号 |
专利法律状态
2020-05-22
授权
状态信息
授权
摘要
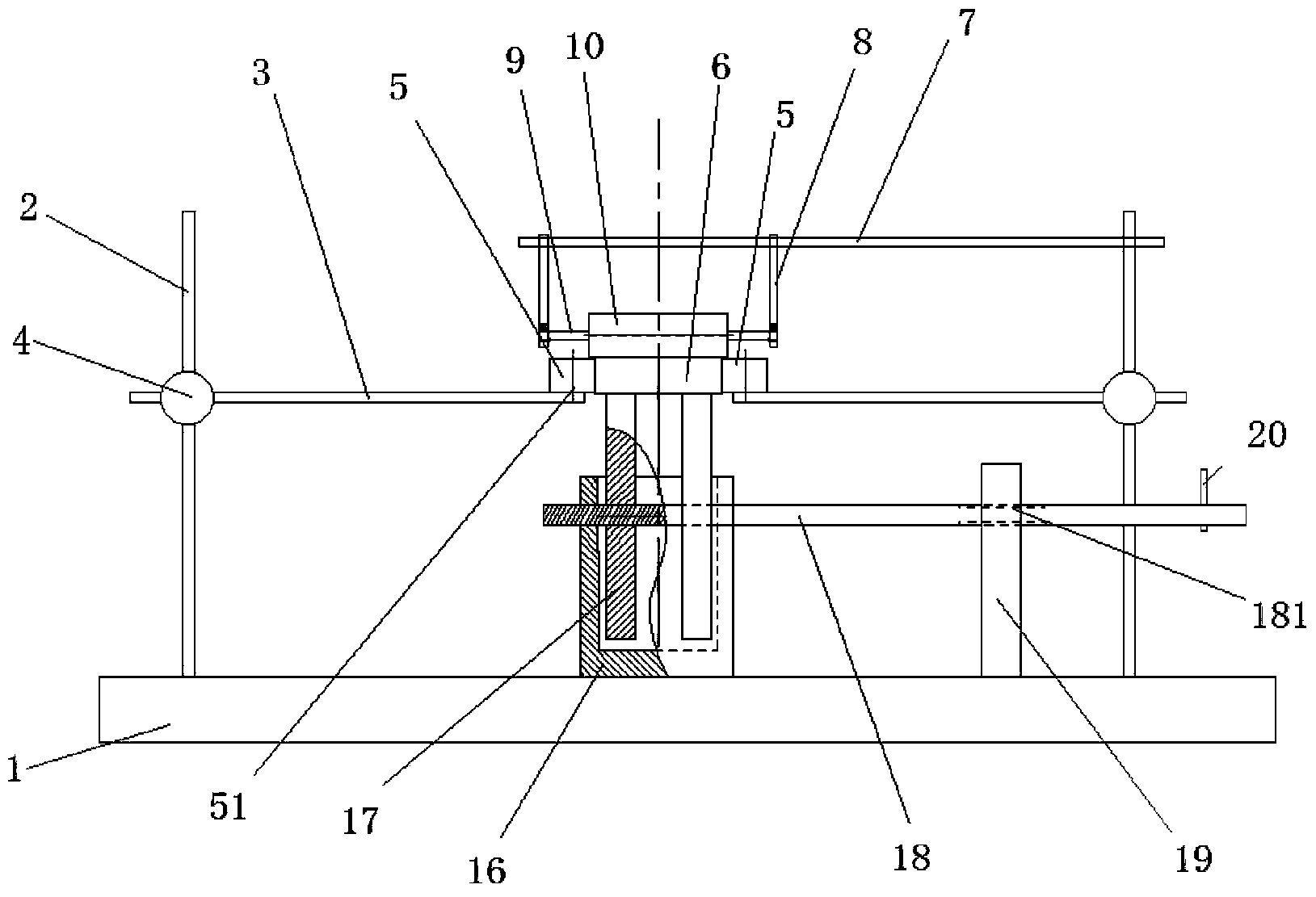
本实用新型公开一种覆膜贴合装置,机架上设置两排立杆,每个立杆上设置侧轮粱,所述侧轮粱的端部设置侧轮轴,侧轮设置在所述侧轮轴上并和工件的侧面贴紧;所述工件的上部设置压轮,压轮设置在压轮轴上,压轮轴固定在夹板上的轴承上,所述轴承固定在夹板上的槽孔中,轴承的外侧套装衬环,所述衬环的上端与弹簧的下端固定,弹簧的上端与垫片固定,垫片与抵紧螺栓的下端抵接;抵紧螺栓旋接在夹板上的螺孔中;所述工件的下方设置支轮,所述支轮设置在支轮轴上,支轮轴架设在支轮座上,支轮座的下方与机架抵接;本实用新型的优点是:可通过调整弹簧的弹力来调整压轮的压力,因此,覆膜效果更好;而支轮的距离可以调整,适应了不同工件的要求。


