授权公布号:CN207546274U
一种冷热混料输送机
有效
申请
2018-04-27
申请公布
1970-01-01
授权
2018-06-29
预估到期
2028-04-27
| 申请号 | CN201721462268.2 |
| 申请日 | 2018-04-27 |
| 授权公布号 | CN207546274U |
| 授权公告日 | 2018-06-29 |
| 分类号 | B01F7/02;B01F15/02;B01F15/06 |
| 分类 | 一般的物理或化学的方法或装置; |
| 申请人名称 | 辽宁新世界科技股份有限公司 |
| 申请人地址 | 辽宁省鞍山市千山优格街19号 |
专利法律状态
2018-06-29
授权
状态信息
授权
摘要
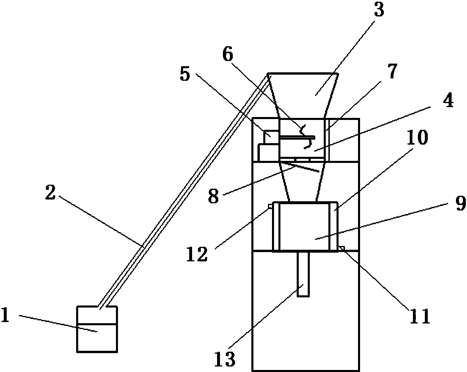
本实用新型公开一种冷热混料输送机,包括加料仓,所述加料仓通过螺旋输送机与料斗连接,所述料斗的下方为热混仓,所述热混仓的侧壁设置加热线圈,桨叶电机设置在热混仓的外侧,桨叶电机的输出轴沿热混仓的径向深入到热混仓内,所述桨叶电机的输出轴上固定有桨叶;热混仓的下部为阀门;热混仓的下方为冷混仓,所述冷混仓的侧壁设置冷却夹层,进水口设置在冷却夹层的下方,出水口设置在冷却夹层的上方;冷混仓的出口高度大于成型机的材料入口高度。本实用新型的优点:一台设备解决了冷热混合及输料问题,提高了工作效率。


