授权公布号:CN215483663U
一种组合式轻质墙板连接结构
有效
申请
2021-07-27
申请公布
1970-01-01
授权
2022-01-11
预估到期
2031-07-27
| 申请号 | CN202121710663.4 |
| 申请日 | 2021-07-27 |
| 授权公布号 | CN215483663U |
| 授权公告日 | 2022-01-11 |
| 分类号 | E04B1/61 |
| 分类 | 建筑物; |
| 申请人名称 | 辽宁新世界科技股份有限公司 |
| 申请人地址 | 辽宁省鞍山市千山区优格街19号 |
专利法律状态
2022-01-11
授权
状态信息
授权
摘要
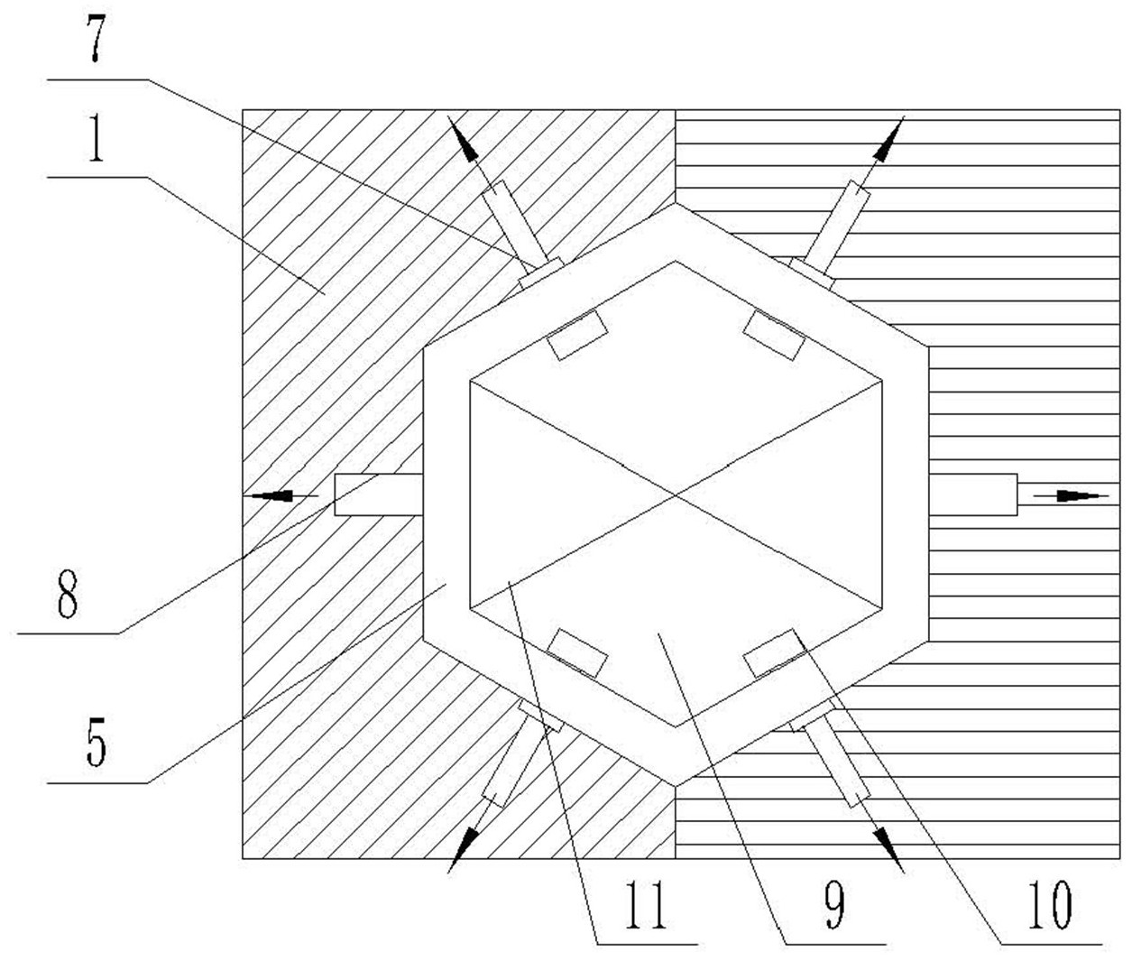
本实用新型涉及高效建筑节能技术领域,特别涉及一种组合式轻质墙板连接结构,用于多个单元墙板的组装,在单元墙板边缘开设安装口,相邻两个单元墙板的安装口对应拼成一个相对两个顶点位于竖直方向的正六棱柱缺口,正六棱柱缺口内插尺寸匹配的正六棱柱安装盒,由安装盒将相邻两个单元墙板连接。本实用新型在相邻两块单元墙板的接头处开设墙板厚度一半的安装口,通过内嵌的方式安装盒,再通过安装盒分别与两边的墙板固定,实现对墙板的连接,可以保持墙板背面不突出,完全与墙体贴合。此外,拆卸方便,不影响墙板的二次使用,不损伤墙板的外观。安装盒的空腔内放入插接而成的支撑板,可以进一步加固安装盒。


