授权公布号:CN217446421U
油炸麻花面包生坯淋水装置
有效
申请
2022-04-29
申请公布
1970-01-01
授权
2022-09-20
预估到期
2032-04-29
| 申请号 | CN202221413003.4 |
| 申请日 | 2022-04-29 |
| 授权公布号 | CN217446421U |
| 授权公告日 | 2022-09-20 |
| 分类号 | A21C9/00;A21C9/04;A21C9/08 |
| 分类 | 焙烤;制作或处理面团的设备;焙烤用面团〔1,8〕; |
| 申请人名称 | 漯河联泰食品有限公司 |
| 申请人地址 | 河南省漯河市临颍县产业集聚区 |
专利法律状态
2022-09-20
授权
状态信息
授权
摘要
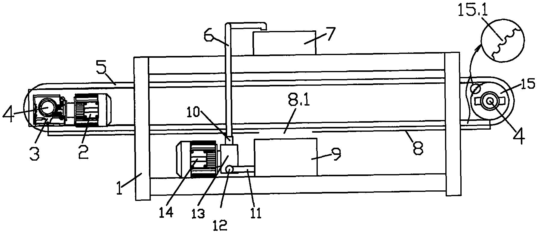
本实用新型公开了一种油炸麻花面包生坯淋水装置,包括机架,机架上面中间位置设置有漏水斗,漏水斗底面设置有漏水孔,机架底面中间位置设置有水箱,机架底面固接水泵电动机,水泵电动机与水泵传动连接,水泵进水口与进水管联通,进水管与水箱联通,水泵出水口与出水管联通,出水管与漏水斗联通;漏水斗下方的机架上固接接水槽,接水槽与水箱对应设置漏水口;漏水斗下方的机架的两端转动连接传动轴,传动轴上固接传动辊,两个传动辊之间撑紧传动连接乙字型输送带,传动辊外圆面设置有与乙字型输送带相匹配的传动槽,其中一根传动轴与传动减速箱传动连接,传动减速箱与传动电动机传动连接。其结构简单,劳动强度小,生产效率高。


