授权公布号:CN217446422U
油炸麻花面包生坯粘糠装置
有效
申请
2022-04-29
申请公布
1970-01-01
授权
2022-09-20
预估到期
2032-04-29
| 申请号 | CN202221413004.9 |
| 申请日 | 2022-04-29 |
| 授权公布号 | CN217446422U |
| 授权公告日 | 2022-09-20 |
| 分类号 | A21C9/04 |
| 分类 | 焙烤;制作或处理面团的设备;焙烤用面团〔1,8〕; |
| 申请人名称 | 漯河联泰食品有限公司 |
| 申请人地址 | 河南省漯河市临颍县产业集聚区 |
专利法律状态
2022-09-20
授权
状态信息
授权
摘要
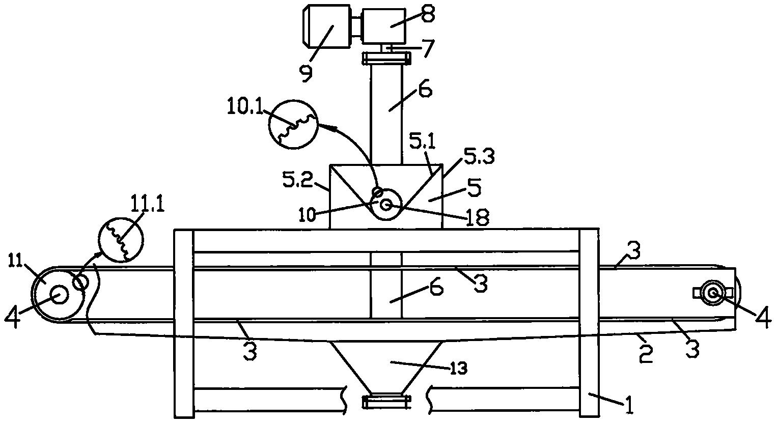
本实用新型公开了一种油炸麻花面包生坯粘糠装置,包括机架,机架上面中间位置设置有糠斗,糠斗内设置有导糠板,导糠板上端与糠斗左右侧板上端固接、前后端与糠斗前后侧板固接、下端滚动摩擦连接排糠辊,排糠辊外圆面设置排糠槽,排糠辊固接排糠轴,排糠轴与糠斗的前、后侧板转动连接,排糠轴与排糠减速箱传动连接,排糠减速箱与排糠电动机传动连接;糠斗下方的机架的两端转动连接传动轴,传动轴上固接传动辊,两个传动辊之间撑紧传动连接乙字型输送带,传动辊外圆面设置有与乙字型输送带相匹配的传动槽,一根传动轴与传动减速箱传动连接,传动减速箱与传动电动机传动连接。其结构简单,劳动强度小,生产效率高。


