授权公布号:CN217614890U
一种小麦制粉用打麸装置
有效
申请
2022-01-26
申请公布
1970-01-01
授权
2022-10-21
预估到期
2032-01-26
| 申请号 | CN202220219124.9 |
| 申请日 | 2022-01-26 |
| 授权公布号 | CN217614890U |
| 授权公告日 | 2022-10-21 |
| 分类号 | B02B7/00;B02B7/02;B07B1/06 |
| 分类 | 破碎、磨粉或粉碎;谷物碾磨的预处理; |
| 申请人名称 | 河北光牌面业有限公司 |
| 申请人地址 | 河北省邯郸市经济开发区姚寨乡南中堡村 |
专利法律状态
2022-10-21
授权
状态信息
授权
摘要
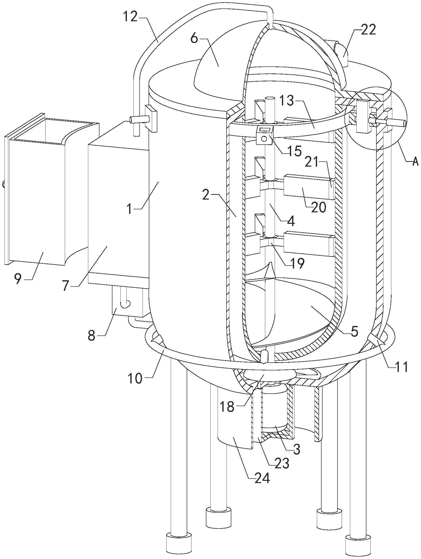
本实用新型涉及小麦制粉技术领域,提出了一种小麦制粉用打麸装置,其打麸过程中便于将麸皮从筛桶内抽出,提高了打麸效率,实用性较高,包括打麸罐,打麸罐的底部开设有多个排料口,打麸罐的内部安装有筛桶,打麸罐上安装有电机,电机的输出轴安装有搅拌杆,搅拌杆贯穿打麸罐和筛桶并伸至筛桶内部,搅拌杆上安装有输送螺带和多个搅拌组,打麸罐上通过固定机构安装有盖板,打麸罐上安装有过滤箱和抽风机,过滤箱上安装有过滤斗,抽风机的输入端与过滤箱连通,抽风机的输出端连通有送风环管,送风环管通过多个送风支管与打麸罐连通,盖板通过伸缩软管与过滤箱连通。


