授权公布号:CN214842187U
一种面粉成品烘干系统
有效
申请
2021-02-04
申请公布
1970-01-01
授权
2021-11-23
预估到期
2031-02-04
| 申请号 | CN202120319899.9 |
| 申请日 | 2021-02-04 |
| 授权公布号 | CN214842187U |
| 授权公告日 | 2021-11-23 |
| 分类号 | F26B11/14;F26B25/06;F26B21/00;F26B25/04 |
| 分类 | 干燥; |
| 申请人名称 | 江苏泰兴曲霞面粉有限公司 |
| 申请人地址 | 江苏省泰州市泰兴市曲霞镇西街 |
专利法律状态
2021-11-23
授权
状态信息
授权
摘要
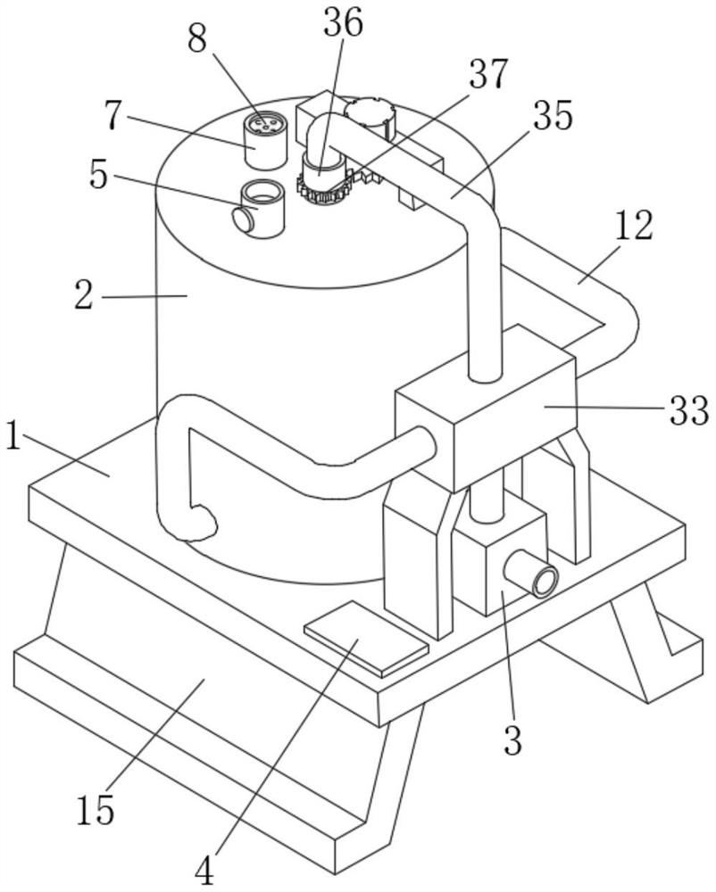
本实用新型公开了一种面粉成品烘干系统,包括工作板台和烘干机构;工作板台:其上表面后侧设有烘干桶,烘干桶上表面左侧的进料口处设有进料管,烘干桶底面设置的出料管贯穿工作板台并延伸至工作板台的下侧,进料管和出料管的内部均串联有管阀,烘干桶上表面后侧的排气口处设有排气管,排气管的内部设有过滤网,烘干桶的上表面右侧设有U形架,U形架的顶壁与烘干桶的上表面之间通过轴承转动连接有齿轮,U形架上表面设置的电机输出轴与齿轮的上端固定连接;该面粉成品烘干系统,可以使所有面粉都能够被快速烘干,保证面粉烘干工作的全面性,并在确保面粉烘干质量的同时提高烘干效率。


