授权公布号:CN212964077U
食品安全检测用取样装置
有效
申请
2020-08-04
申请公布
1970-01-01
授权
2021-04-13
预估到期
2030-08-04
| 申请号 | CN202021600209.9 |
| 申请日 | 2020-08-04 |
| 授权公布号 | CN212964077U |
| 授权公告日 | 2021-04-13 |
| 分类号 | G01N1/04;G01N1/38;G01N33/02 |
| 分类 | 测量;测试; |
| 申请人名称 | 山东金城股份有限公司 |
| 申请人地址 | 山东省烟台市招远市晨钟路7号 |
专利法律状态
2021-04-13
授权
状态信息
授权
摘要
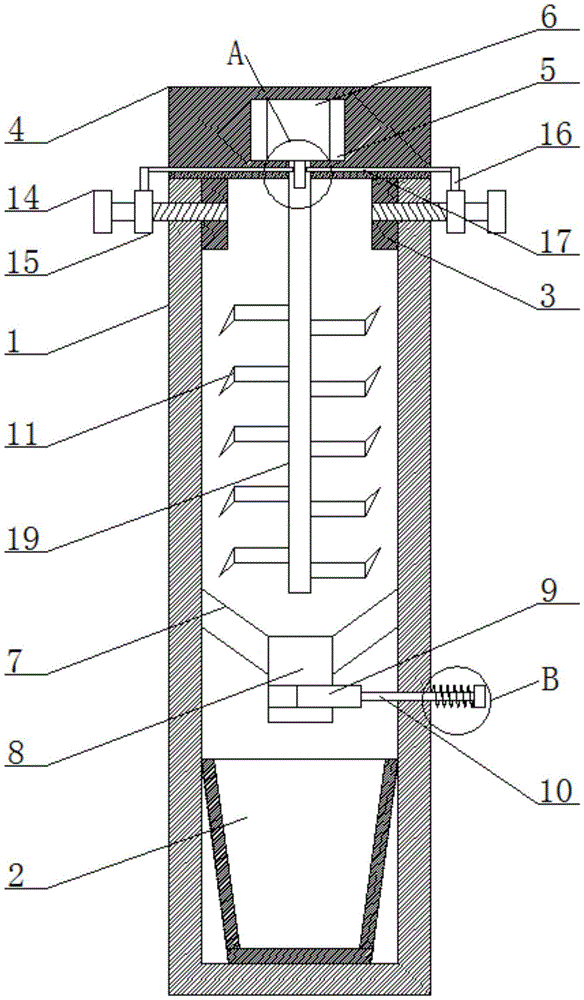
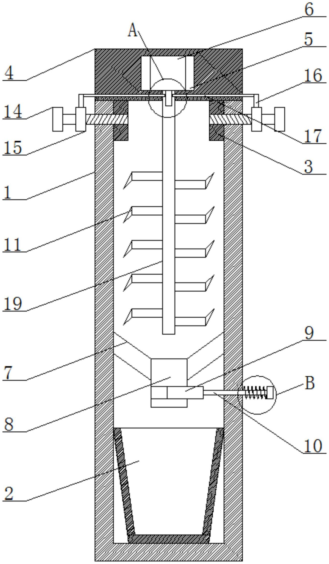
本实用新型属于食品安全检测技术领域,尤其是一种食品安全检测用取样装置,针对现有的抽样装置不便于进行拆卸清洗消毒,从而降低检测的准确性的问题,现提出如下方案,其包括壳体,所述壳体的底部内壁放置有取样杯,壳体内固定安装有漏斗,漏斗的底部开设有出样口,出样口上开设有第一滑槽,第一滑槽内滑动安装有密封板,壳体的一侧开设有第一通孔,第一通孔内活动安装有第一滑杆,密封板的一侧与第一滑杆的一端固定连接,第一滑杆位于壳体外的一端固定连接有第一固定块,壳体的两侧内壁上均滑动安装有第二固定块,本实用新型能够方便拆卸进行清洗消毒,提高安全检测的准确性,结构简单,使用方便。


