授权公布号:CN213219507U
食品安全检测用消毒装置
有效
申请
2020-08-04
申请公布
1970-01-01
授权
2021-05-18
预估到期
2030-08-04
| 申请号 | CN202021600210.1 |
| 申请日 | 2020-08-04 |
| 授权公布号 | CN213219507U |
| 授权公告日 | 2021-05-18 |
| 分类号 | A61L2/18;A61L2/26;G01N33/02 |
| 分类 | 医学或兽医学;卫生学; |
| 申请人名称 | 山东金城股份有限公司 |
| 申请人地址 | 山东省烟台市招远市晨钟路7号 |
专利法律状态
2021-05-18
授权
状态信息
授权
摘要
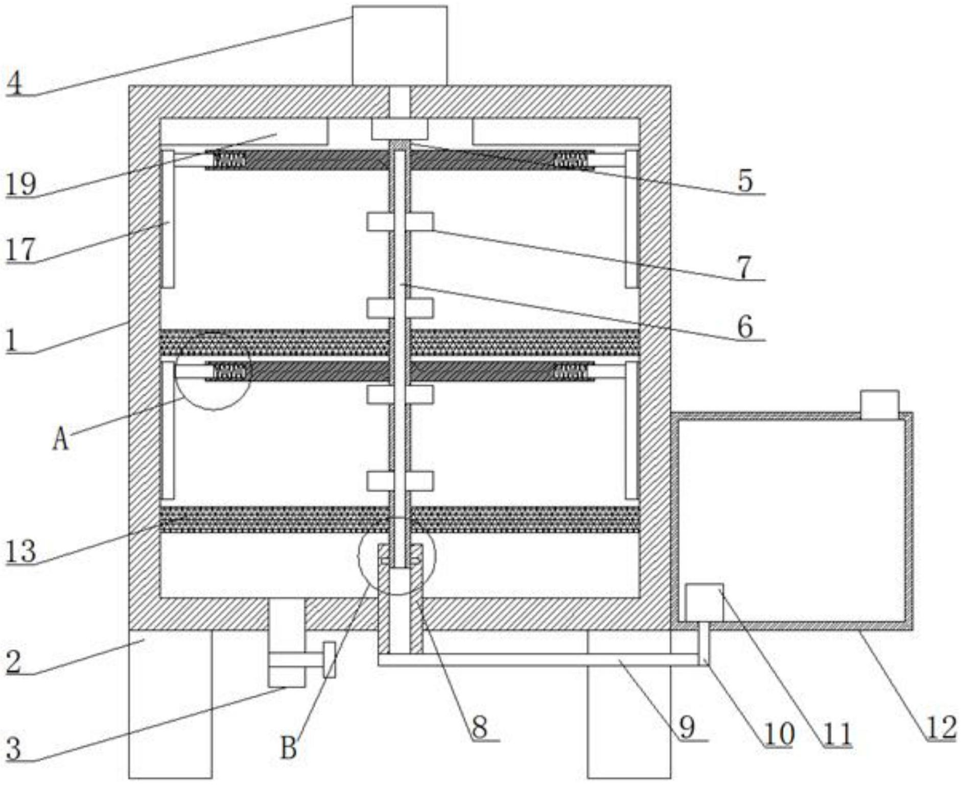
本实用新型属于食品安全检测技术领域,尤其是一种食品安全检测用消毒装置,针对现有的在消毒过程中消毒液喷洒不均匀且不便于清洁,从而导致消毒不够彻底问题,现提出如下方案,其包括壳体,所述壳体的底部固定安装有对称的两个支撑柱,壳体的底部开设有出水口,壳体的顶部固定安装有电机,壳体的顶部开设有第一通孔,第一通孔内转动安装有转杆,转杆的底部开设有第二通孔,第二通孔内固定安装有第一连接管,壳体内固定安装有两个镂空板,两个镂空板上均开设有安装孔,两个安装孔的内壁均与转杆的外侧滑动连接,本实用新型能够在消毒过程中使消毒液喷洒均匀且便于清洁,提高消毒效率,结构简单,使用方便。


