授权公布号:CN214354367U
豆渣压榨机
有效
申请
2021-01-20
申请公布
1970-01-01
授权
2021-10-08
预估到期
2031-01-20
| 申请号 | CN202120158751.1 |
| 申请日 | 2021-01-20 |
| 授权公布号 | CN214354367U |
| 授权公告日 | 2021-10-08 |
| 分类号 | B30B9/04;B30B15/28;B30B15/00 |
| 分类 | 压力机; |
| 申请人名称 | 湖南满师傅食品有限公司 |
| 申请人地址 | 湖南省邵阳市新宁县金石镇观瀑村6组 |
专利法律状态
2021-10-08
授权
状态信息
授权
摘要
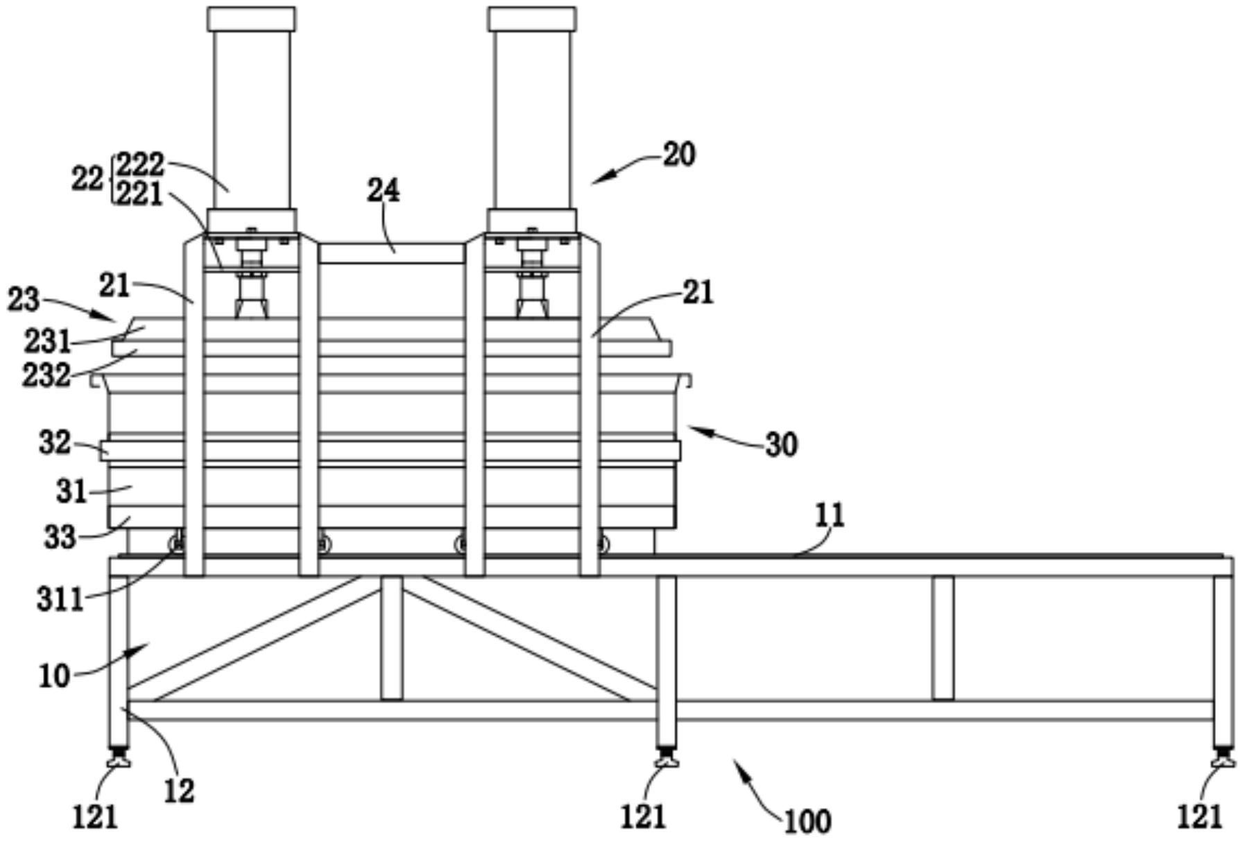
本实用新型提供了一种豆渣压榨机,其包括第一筒体、压榨装置及第二筒体,压榨装置包括支撑架、直线驱动单元及第一压板组件,支撑架设置于第一筒体上,直线驱动单元设置于支撑架的远离第一筒体的一端,第一压板组件设置于直线驱动单元的输出端并与第一筒体相互间隔设置;第二筒体活动设置于第一筒体上,且第二筒体能移动至第一压板组件下侧,第二筒体包括第二本体及设置于第二本体中的第二压板;其中,第一压板组件包括与第二压板相匹配的第一压板,直线驱动单元用以驱动第一压板朝向第二压板移动。与现有技术相比,本实用新型提供的豆渣压榨机可以有效提高加工效率,降低人力成本,同时降低安全隐患。


