授权公布号:CN208759295U
一种内吸式抛粒机
失效
申请
2018-09-21
申请公布
1970-01-01
授权
2019-04-19
预估到期
2028-09-21
| 申请号 | CN201821557461.9 |
| 申请日 | 2018-09-21 |
| 授权公布号 | CN208759295U |
| 授权公告日 | 2019-04-19 |
| 分类号 | B24B31/02;B24B31/12 |
| 分类 | 磨削;抛光; |
| 申请人名称 | 广东三七新能源有限公司 |
| 申请人地址 | 广东省江门市台山市工业园长兴路16号A座 |
专利法律状态
2023-09-29
专利权的终止
状态信息
未缴年费专利权终止;IPC(主分类):B24B 31/02;专利号:ZL2018215574619;申请日:20180921;授权公告日:20190419;终止日期:
2019-04-19
授权
状态信息
授权
摘要
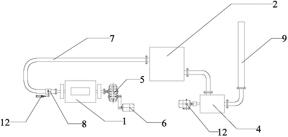
本实用新型公开了一种内吸式抛粒机,包括抛粒斗、除尘器,所述抛粒斗为密闭容器,所述抛粒斗内部设置有内吸主轴,所述内吸主轴仅允许粉尘通过,所述内吸主轴和所述除尘器相连,所述除尘器和引风机相连,所述引风机牵引粉尘从抛粒斗进入除尘器。本实用新型的有益效果是:提供一种内吸式抛粒机,可以将抛粒工作产生的粉尘在内部吸收处理,不会弥散在空气中,极大地改善了现场工作环境,使工人在相对舒适的环境中工作,提高了工作效率。


