授权公布号:CN215501098U
一种面条挂杆提升装置
有效
申请
2021-03-22
申请公布
1970-01-01
授权
2022-01-14
预估到期
2031-03-22
| 申请号 | CN202120581645.4 |
| 申请日 | 2021-03-22 |
| 授权公布号 | CN215501098U |
| 授权公告日 | 2022-01-14 |
| 分类号 | A21C9/02;B65G17/12 |
| 分类 | 焙烤;制作或处理面团的设备;焙烤用面团〔1,8〕; |
| 申请人名称 | 河北金沙河面业集团有限责任公司 |
| 申请人地址 | 河北省邢台市沙河市京深高速沙河道口东行200米 |
专利法律状态
2022-01-14
授权
状态信息
授权
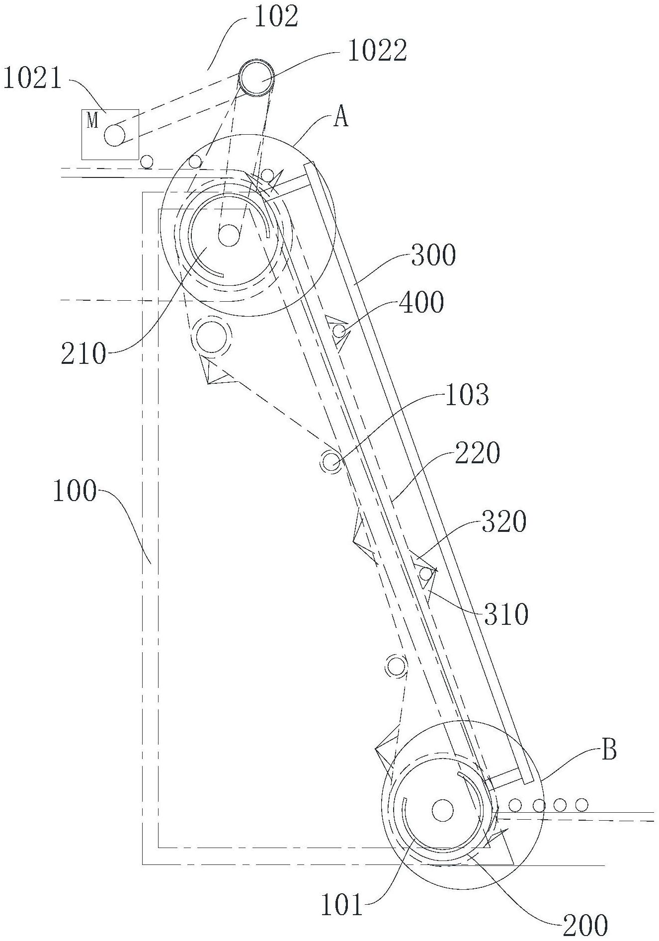
摘要
本实用新型提供了一种面条挂杆提升装置,属于面制食品加工技术领域,包括两个间隔设置的支架和多个毛钩,每个支架安装有由下至上倾斜设置的传动链环组;以及多个毛钩间隔连接于传动链环组上,且朝传动链环组的环形外部凸出,毛钩用于钩挂面条挂杆以随传动链环组提升;其中,毛钩在支架的底端钩挂面条挂杆,并在顶端释放面条挂杆。本实用新型提供的面条挂杆提升装置,旨在解决面条挂杆如何在高度方向上提升的问题。


