授权公布号:CN213316063U
双筒初清筛
有效
申请
2020-09-09
申请公布
1970-01-01
授权
2021-06-01
预估到期
2030-09-09
| 申请号 | CN202021962427.7 |
| 申请日 | 2020-09-09 |
| 授权公布号 | CN213316063U |
| 授权公告日 | 2021-06-01 |
| 分类号 | B07B1/42;B07B1/46;B07B1/24 |
| 分类 | 将固体从固体中分离;分选; |
| 申请人名称 | 河北金沙河面业集团有限责任公司 |
| 申请人地址 | 河北省邢台市沙河市京深高速沙河道口东行200米 |
专利法律状态
2021-06-01
授权
状态信息
授权
摘要
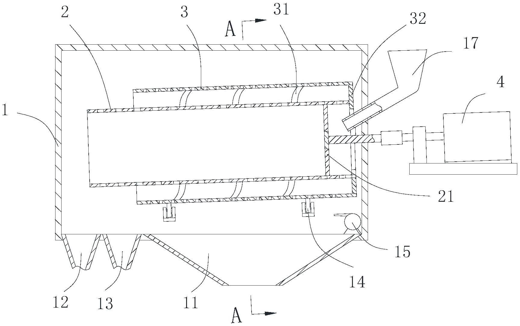
本实用新型提供了一种双筒初清筛,涉及初清筛技术领域,包括机箱、内筛筒、外筛筒以及驱动件;内筛筒转动连接于机箱内,且自进料端至出料端向下倾斜设置,内筛筒的进料端设有进料管、出料端设有杂物斗,内筛筒的下方设有出粮斗;外筛筒套设于内筛筒的外周,外筛筒与内筛筒通过连接件相连,外筛筒的下方设有若干组承托轮组;驱动件的输出端设有用于与内筛筒的内壁相连的驱动架。本实用新型提供的双筒初清筛,通过驱动架实现驱动件对内筛筒的驱动作用,进而带动外筛筒同步旋转,承托轮组对外筛筒进行承托,使内筛筒和外筛筒保持稳定的倾斜角度,进而实现对杂物和粮食的有效筛分,保证了内筛筒和外筛筒中杂物的排出速度,提高了筛分效率。


