授权公布号:CN214731777U
白板托盘供栈装置
有效
申请
2021-03-22
申请公布
1970-01-01
授权
2021-11-16
预估到期
2031-03-22
| 申请号 | CN202120582026.7 |
| 申请日 | 2021-03-22 |
| 授权公布号 | CN214731777U |
| 授权公告日 | 2021-11-16 |
| 分类号 | B65G15/00;B65G47/91 |
| 分类 | 输送;包装;贮存;搬运薄的或细丝状材料; |
| 申请人名称 | 河北金沙河面业集团有限责任公司 |
| 申请人地址 | 河北省邢台市沙河市京深高速沙河道口东行200米 |
专利法律状态
2021-11-16
授权
状态信息
授权
摘要
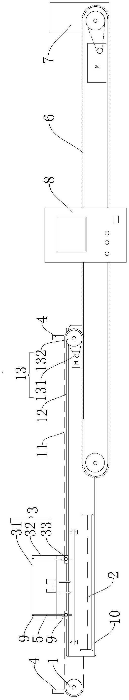
本实用新型提供了一种白板托盘供栈装置,属于挂面生产加工技术领域,包括牵引机构、升降吸附机构、输送带和控制器;牵引机构设置有两组,平行且间隔设置,两组牵引机构的一端均位于白板托盘的上方,另一端向白板托盘的外部水平延伸;两组牵引机构连接有移动架;两组或其中一组牵引机构的两端还分别设有限位开关;升降吸附机构与移动架连接,能够沿上下方向升降,并且用于吸附白板托盘;输送带的一端位于两组牵引机构的伸出端的下方,另一端向牵引机构的外侧水平延伸至码垛机;控制器分别与两组牵引机构、限位开关、升降吸附机构以及输送带电连接。本实用新型提供的白板托盘供栈装置,可提高白板托盘转移过程的工作效率并降低工作成本。


