授权公布号:CN211823512U
一种杂粮挂面节能烘干房
有效
申请
2020-02-24
申请公布
1970-01-01
授权
2020-10-30
预估到期
2030-02-24
| 申请号 | CN202020199260.7 |
| 申请日 | 2020-02-24 |
| 授权公布号 | CN211823512U |
| 授权公告日 | 2020-10-30 |
| 分类号 | F26B9/02 |
| 分类 | 干燥; |
| 申请人名称 | 湖南裕湘食品有限公司 |
| 申请人地址 | 湖南省郴州市北湖区石盖塘镇商业大道南侧 |
专利法律状态
2020-10-30
授权
状态信息
授权
摘要
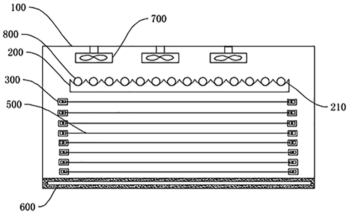
本实用新型公开了一种挂面节能烘干房,包括房体、输送线、安装座、线连接块和间隔绳;房体中部空心以用于容纳挂面;输送线用于带动挂面在房体内移动;安装座水平间隔成对设置,安装座固定在房体内墙面并设置有上部为开口的开口槽;所述线连接块包括基块和线环,所述基块与开口槽匹配并插入开口槽内,所述线环固设在基块上且位于开口槽外部;间隔绳两端分别连接在水平成对间隔设置的两线连接块的线环上。本实用新型线连接块通过插接在固定座上,安装更换方便;通过设置的间隔绳避免面条与墙壁接触,导致面条被墙壁污染,甚至接触到墙壁上的水汽导致面条变质;同时,最大限度地减少房屋体积,减少能源损耗。


