授权公布号:CN211358703U
一种红薯粉喂料装置
有效
申请
2019-11-17
申请公布
1970-01-01
授权
2020-08-28
预估到期
2029-11-17
| 申请号 | CN201921980685.5 |
| 申请日 | 2019-11-17 |
| 授权公布号 | CN211358703U |
| 授权公告日 | 2020-08-28 |
| 分类号 | B01F15/02 |
| 分类 | 一般的物理或化学的方法或装置; |
| 申请人名称 | 湖南裕湘食品有限公司 |
| 申请人地址 | 湖南省郴州市北湖区石盖塘镇商业大道南侧 |
专利法律状态
2020-08-28
授权
状态信息
授权
摘要
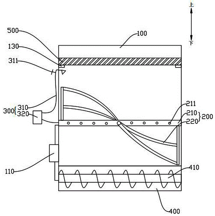
本实用新型公开了一种红薯粉喂料装置,包括:机体、搅拌机构、喷淋机构、出料机构和滤网;所述机体上设有电机;所述搅拌机构包括旋转轴和搅拌叶,所述旋转轴内部中空且设有出水口;所述喷淋机构包括喷水装置和水泵;所述出料机构用于送出搅拌完毕的红薯粉。本实用新型通过设置滤网对红薯粉进行初步筛分,并使红薯粉进入搅拌机构时更均匀,而不是一下倾泻进去,再通过搅拌机构上方的喷水装置和旋转轴上的出水口,使得红薯粉搅拌时可以较全面地与水混合,从而加快混合速率;此外,在搅拌机构下方设置有出料机构,即完成搅拌后能够直接出料,简易快速。


