授权公布号:CN212039310U
一种米粉震动筛浆装置
有效
申请
2020-01-17
申请公布
1970-01-01
授权
2020-12-01
预估到期
2030-01-17
| 申请号 | CN202020103642.5 |
| 申请日 | 2020-01-17 |
| 授权公布号 | CN212039310U |
| 授权公告日 | 2020-12-01 |
| 分类号 | B01D33/03;B01D33/41 |
| 分类 | 一般的物理或化学的方法或装置; |
| 申请人名称 | 湖南裕湘食品有限公司 |
| 申请人地址 | 湖南省郴州市北湖区石盖塘镇商业大道南侧 |
专利法律状态
2020-12-01
授权
状态信息
授权
摘要
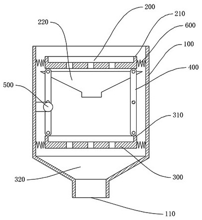
本实用新型公开了一种米粉震动筛浆装置,包括:机壳、第一筛网、第二筛网、联动机构、震动机构。机壳下端设置有出料口;第一筛网水平设置在所述机壳内;第二筛网水平设置在所述机壳内低于所述一级筛网位置;联动机构连接在所述第一筛网和所述第二筛网之间,并使所述第一筛网和所述第二筛网的震动方向相反;震动机构与联动机构连接并驱动所述第一筛网和第二筛网震动。通过增设震动方向相反的第二筛网,使得浆料过滤更加充分,震动方向相反能够提升过筛的效果,防止因浆料的运动惯性直接穿过第二筛网,提高筛网运动的随机性,使得过滤效果更加好,从而提升米粉的口感。


