授权公布号:CN209914907U
一种面条裁断装置
有效
申请
2019-04-11
申请公布
1970-01-01
授权
2020-01-10
预估到期
2029-04-11
| 申请号 | CN201920481913.8 |
| 申请日 | 2019-04-11 |
| 授权公布号 | CN209914907U |
| 授权公告日 | 2020-01-10 |
| 分类号 | A21C11/22 |
| 分类 | 焙烤;制作或处理面团的设备;焙烤用面团〔1,8〕; |
| 申请人名称 | 湖南裕湘食品有限公司 |
| 申请人地址 | 湖南省郴州市北湖区石盖塘镇商业大道南侧 |
专利法律状态
2020-01-10
授权
状态信息
授权
摘要
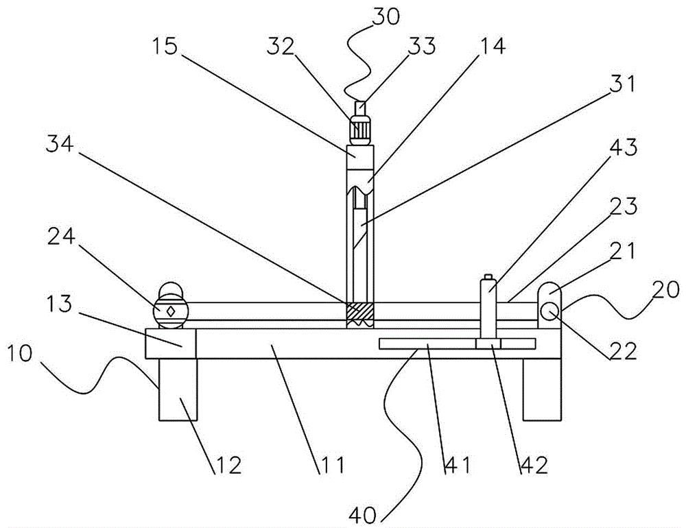
本实用新型公开了一种面条裁断装置,包括支撑组件、运输组件、裁断组件和控制组件,所述裁断组件包括切割刀、连接杆和支撑板,所述转动电机位于所述挡板的上表面,且与所述挡板固定连接,所述切割刀的上表面设有所述连接杆,所述连接杆与所述切割刀固定连接,所述支撑杆的内侧壁靠近所述传送带的顶部内壁设于所述支撑板,所述支撑板与所述支撑杆固定连接;当长面再次到达光栅传感器之间时,切割刀再次下降切割长面,切割刀与光栅传感器依次循环切割长面,在需要改变面条的长度时,可通过移动滑块改变光栅传感器与刀架之间的距离来实现改变需要的切割长度,从而使机器不需要停止工作也能改变面条的长度,提高机器的工作效率。


