授权公布号:CN216219824U
一种面条多级碾压设备
有效
申请
2021-10-09
申请公布
1970-01-01
授权
2022-04-08
预估到期
2031-10-09
| 申请号 | CN202122427716.8 |
| 申请日 | 2021-10-09 |
| 授权公布号 | CN216219824U |
| 授权公告日 | 2022-04-08 |
| 分类号 | A21C3/04;A21C3/02;A21C11/16;A21C9/08 |
| 分类 | 焙烤;制作或处理面团的设备;焙烤用面团〔1,8〕; |
| 申请人名称 | 湖南裕湘食品有限公司 |
| 申请人地址 | 湖南省郴州市北湖区石盖塘镇商业大道南侧 |
专利法律状态
2022-04-08
授权
状态信息
授权
摘要
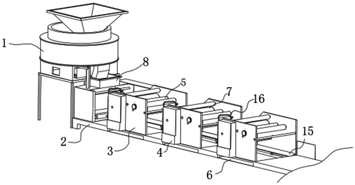
本实用新型涉及面粉加工技术领域,具体公开了一种面条多级碾压设备,包括搅拌下料机、工作台和挤压机,所述挤压机安装在工作台顶部一端,所述挤压机位于搅拌下料机下方,且所述搅拌下料机设置在工作台一侧边沿,所述工作台顶部均安装有多组碾压单元,且多组所述碾压单元均包括沿水平方向等距离安装在工作台顶部的支撑架,所述支撑架内侧转动安装有压辊,所述支撑架内侧且靠近压辊外侧下方以及后端均转动安装有多组转辊,所述压辊的一端延伸至支撑架外侧且端部安装有电机箱组件,本实用新型可充分减少面条加工过程中的杂质,使得更加光滑,其次便于在碾压时的干面粉坨进行收集并清理,使用起来尤为便利。


