授权公布号:CN213356075U
一种面粉送料装置
有效
申请
2020-06-29
申请公布
1970-01-01
授权
2021-06-04
预估到期
2030-06-29
| 申请号 | CN202021216777.9 |
| 申请日 | 2020-06-29 |
| 授权公布号 | CN213356075U |
| 授权公告日 | 2021-06-04 |
| 分类号 | B65G47/74;B65G69/18 |
| 分类 | 输送;包装;贮存;搬运薄的或细丝状材料; |
| 申请人名称 | 湖南裕湘食品有限公司 |
| 申请人地址 | 湖南省郴州市北湖区石盖塘镇商业大道南侧 |
专利法律状态
2021-06-04
授权
状态信息
授权
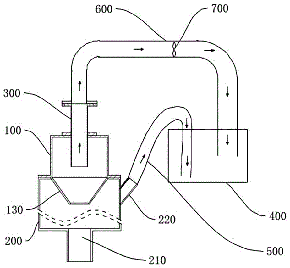
摘要
本实用新型公开了一种面粉送料装置,包括:投料箱,内部中空,上端具有管口,底部具有用于通过面粉的开口,侧部开设有面粉投料口;过渡箱,内部中空,上端与投料箱开口连通,底部设置有送料出口,侧部设置有导气管;排气管,插入管口且上端凸出投料箱;水箱,用于容纳水以吸收气体中的面粉,与排气管连通且中间设置有风机以将投料箱内混有面粉的气体送入水箱内,与导气管连通以将过渡箱内混有面粉的气体导入水箱内。本实用新型通过导气管对过渡箱内的空气进行泄压,避免大量面粉涌入投料箱,再通过排气管将涌入投料箱的气体排出,避免面粉散人空气中,产生扬粉;避免爆炸隐患。


