授权公布号:CN219612909U
面条生产用的辅料配制装置
有效
申请
2023-03-17
申请公布
1970-01-01
授权
2023-09-01
预估到期
2033-03-17
| 申请号 | CN202320522285.X |
| 申请日 | 2023-03-17 |
| 授权公布号 | CN219612909U |
| 授权公告日 | 2023-09-01 |
| 分类号 | A21C1/06;A21C1/14 |
| 分类 | 焙烤;制作或处理面团的设备;焙烤用面团〔1,8〕; |
| 申请人名称 | 湖南裕湘食品有限公司 |
| 申请人地址 | 湖南省郴州市北湖区石盖塘镇商业大道南侧 |
专利法律状态
2023-09-01
授权
状态信息
授权
摘要
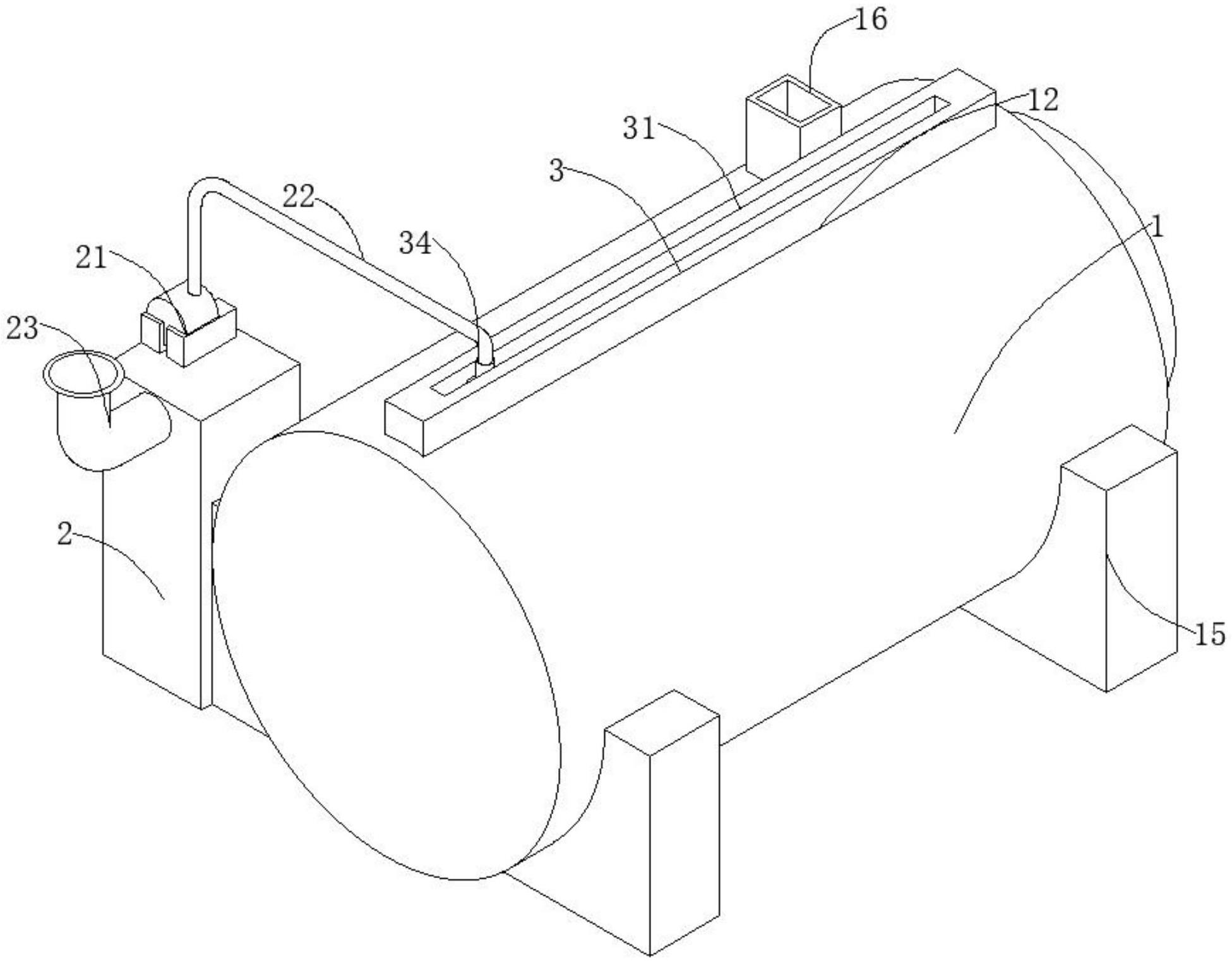
本实用新型公开了一种面条生产用的辅料配制装置,包括配制仓及液料箱,所述配制仓内部开设混合腔,所述配制仓顶面开设顶槽口,所述顶槽口连通混合腔,所述顶槽口内固接液料下料壳,所述液料下料壳为长条形形状,所述液料下料壳内垂直开设通槽,所述通槽内中部位置水平滑动连接滑动板,所述滑动板底面固接喷头。本实用新型增设了液料下料壳,汁液类的液料存放在液料箱内,在使用时通过喷头喷入正在混合的粉料内,同时喷头会在往复丝杆作用下往复滑移,可以均匀的将液料撒入,液料撒入正在混合的粉料中,直接与粉料形成搅拌混合状态,即可避免液料与静止粉料接触时间过长导致部分粉料结块的现象,进而保证了混合的均匀性,实用价值高。


