授权公布号:CN212580317U
用于决明子枕芯生产的打包机
有效
申请
2020-03-24
申请公布
1970-01-01
授权
2021-02-23
预估到期
2030-03-24
| 申请号 | CN202020384933.6 |
| 申请日 | 2020-03-24 |
| 授权公布号 | CN212580317U |
| 授权公告日 | 2021-02-23 |
| 分类号 | B65B61/24; |
| 分类 | 输送;包装;贮存;搬运薄的或细丝状材料; |
| 申请人名称 | 江苏三联家用纺织品有限公司 |
| 申请人地址 | 江苏省南通市海门市海门镇人民西路1511号(三和工业集中区) |
专利法律状态
2021-02-23
授权
状态信息
授权
摘要
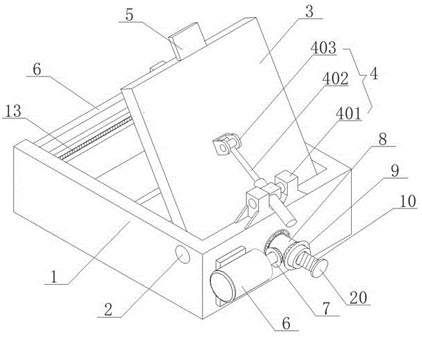
本实用新型涉及打包机领域,且公开了用于决明子枕芯生产的打包机,包括打包箱,所述打包箱的内部固定连接有固定轴,所述固定轴上套设有与其铰接的压盖,所述打包箱顶部的右侧固定连接有推拉构件,所述推拉构件的左端与压盖固定连接,所述压盖的左侧固定连接有压块,所述打包箱的右侧固定安装有伺服电机,所述伺服电机的输出轴上固定连接有第一锥齿轮,所述打包箱的右侧转动连接有空心转杆,所述空心转杆上套设有与其固定连接的第二锥齿轮,所述第二锥齿轮与第一锥齿轮啮合,所述空心转杆的内部螺纹连接有螺纹杆,所述螺纹杆的左端贯穿并延伸至打包箱的内部。该实用新型,解决了徒手打包消耗大量人力,劳动强度也大,生产效率低的问题。


