授权公布号:CN212611251U
用于羽绒被生产的多针绗绣
有效
申请
2020-03-24
申请公布
1970-01-01
授权
2021-02-26
预估到期
2030-03-24
| 申请号 | CN202020385701.2 |
| 申请日 | 2020-03-24 |
| 授权公布号 | CN212611251U |
| 授权公告日 | 2021-02-26 |
| 分类号 | D05B11/00;D05B69/36;D05B75/00;D05B35/00;D05B69/10;D05B69/30 |
| 分类 | 缝纫;绣花;簇绒; |
| 申请人名称 | 江苏三联家用纺织品有限公司 |
| 申请人地址 | 江苏省南通市海门市海门镇人民西路1511号(三和工业集中区) |
专利法律状态
2021-02-26
授权
状态信息
授权
摘要
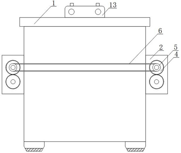
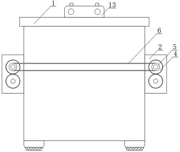
本实用新型涉及多针缝纫技术领域,且公开了用于羽绒被生产的多针绗绣,包括多针缝纫机主体,所述多针缝纫机主体左右两侧的正面与背面均固定安装有支撑板,相邻两个所述支撑板之间均转动连接有两个压平辊,四个所述压平辊的前端分别贯穿至正面两个支撑板的正面,四个所述压平辊的前端均固定连接有啮合齿轮。该实用新型,通过在多针缝纫机主体顶部安装有控制器,压力传感器压迫产生信号传递至控制器内,进而控制多针缝纫机主体停止运行,最后由操作员对物料进行摆正,从而继续运行装置,进而使装置不易在生产时传动偏移,影响绗缝质量,最终使装置达到装置的绗缝传动相对稳定,且装置对物料绗缝的质量相对较好的优势。


