授权公布号:CN219132457U
一种西洋参切片装置
有效
申请
2022-12-13
申请公布
1970-01-01
授权
2023-06-06
预估到期
2032-12-13
| 申请号 | CN202223330145.7 |
| 申请日 | 2022-12-13 |
| 授权公布号 | CN219132457U |
| 授权公告日 | 2023-06-06 |
| 分类号 | B26D1/29;B07B1/28;B07B1/46;B26D7/26 |
| 分类 | 手动切割工具;切割;切断; |
| 申请人名称 | 绿之韵生物工程集团有限公司 |
| 申请人地址 | 湖南省长沙市浏阳经济技术开发区绿之韵路8号 |
专利法律状态
2023-06-06
授权
状态信息
授权
摘要
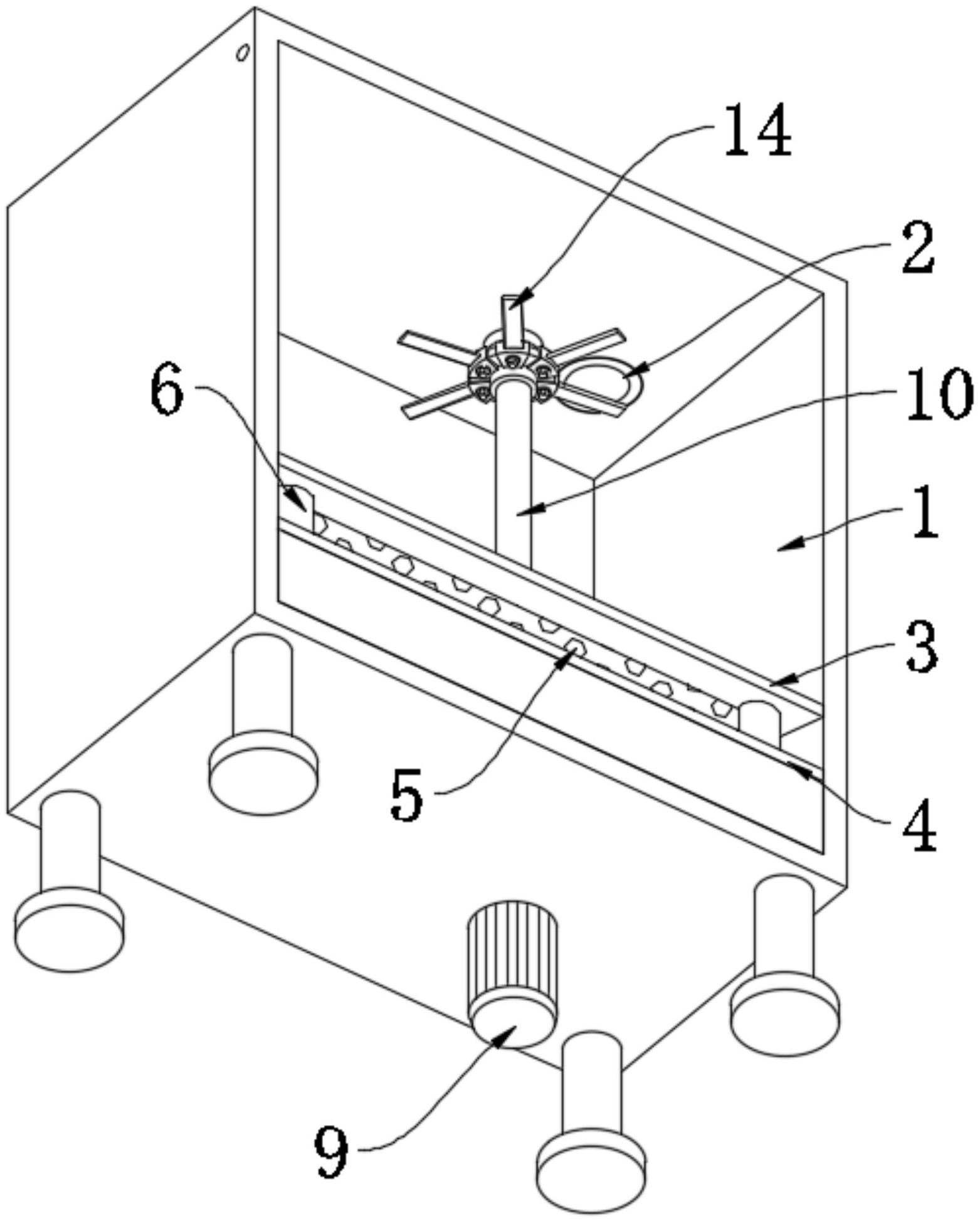
本实用新型公开了一种西洋参切片装置,包括工作箱,所述工作箱的顶部连通有上料管,所述工作箱的内部且位于上料管的对应处安装有切片组件,所述工作箱的内腔设有可筛分排料组件,所述可筛分排料组件包括第一排料板和第二排料板;本实用新型通过切片组件的设置,可以对西洋参进行切片处理,通过可筛分排料组件的设置,切片后的参片以及碎参须会落在第一排料板的表面,振动电机可带动第一排料板和第二排料板震动,使得混杂在参片内的碎参须通过筛孔落在第二排料板的表面,从而对参片和碎参须进行筛分处理,由于第一排料板和第二排料板均呈倾斜设置,在震动的过程中参片和碎参须会向工作箱的外部排出。


