授权公布号:CN217710055U
一种毛毯生产用剖布机的撑布机构
有效
申请
2022-08-16
申请公布
1970-01-01
授权
2022-11-01
预估到期
2032-08-16
| 申请号 | CN202222150314.2 |
| 申请日 | 2022-08-16 |
| 授权公布号 | CN217710055U |
| 授权公告日 | 2022-11-01 |
| 分类号 | D06H7/00;H05F3/00 |
| 分类 | 织物等的处理;洗涤;其他类不包括的柔性材料; |
| 申请人名称 | 山东圣豪家纺有限公司 |
| 申请人地址 | 山东省烟台市蓬莱市北沟镇西城临港工业区 |
专利法律状态
2022-11-01
授权
状态信息
授权
摘要
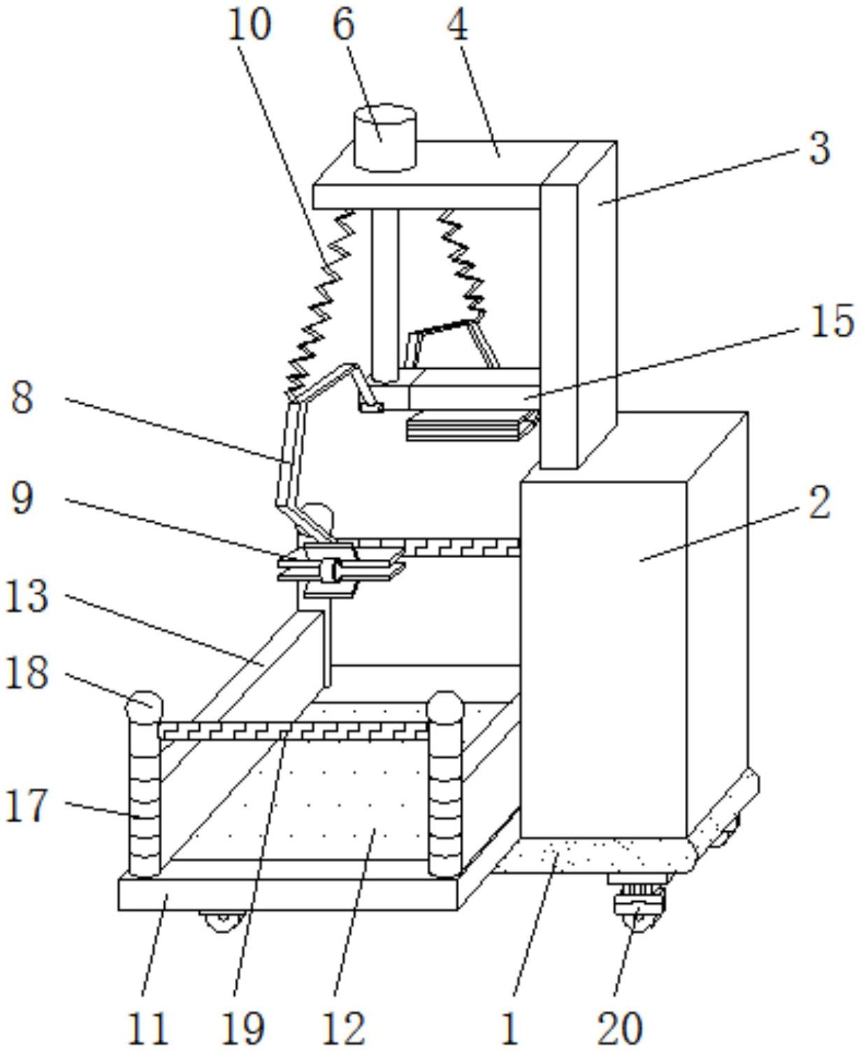
本实用新型公开了一种毛毯生产用剖布机的撑布机构,包括底板,所述底板的上表面固定连接有剖布机体,所述剖布机体的上表面固定连接有支撑板,所述支撑板的左侧面固定连接有固定板,所述固定板的上表面开设有通孔,所述固定板的上表面固定连接有电动推杆,所述电动推杆的输出端贯穿通孔并延伸至固定板的下方,所述电动推杆的输出端固定连接有定位块。本实用新型通过电动推杆使定位块下降,同时利用滑槽和滑板的配合,使定位块稳定移动,在定位块下降的过程中,两个伸缩弹簧提起对应的撑布架,使两个撑布架缓慢展开,通过撑布架展开达到对毛毯撑开效率,这样由一位工作人员即可完成,节省的了人力资源,降低工作人员的工作强度。


