授权公布号:CN102067787B
一种定向培养各种形态灵芝盆景的模具及方法
有效
申请
2010-11-12
申请公布
2011-05-25
授权
2012-03-28
预估到期
2030-11-12
| 申请号 | CN201010543605.7 |
| 申请日 | 2010-11-12 |
| 申请公布号 | CN102067787A |
| 申请公布日 | 2011-05-25 |
| 授权公布号 | CN102067787B |
| 授权公告日 | 2012-03-28 |
| 分类号 | A01G1/04;A01G7/06;C05G1/00;C05F15/00 |
| 分类 | 农业;林业;畜牧业;狩猎;诱捕;捕鱼; |
| 申请人名称 | 安徽黄山云乐灵芝有限公司 |
| 申请人地址 | 安徽省宣城市旌德县云乐乡街道 |
专利法律状态
2023-09-22
专利权质押合同登记的生效、变更及注销
状态信息
专利权质押合同登记的生效;IPC(主分类):A01G1/04;专利号:ZL2010105436057;登记号:Y2023980055186;登记生效日:20230904;出质人:安徽黄山云乐灵芝有限公司;质权人:旌德县兴业融资担保有限公司;发明名称:一种定向培养各种形态灵芝盆景的模具及方法;申请日:20101112;授权公告日:20120328
2023-09-12
专利权质押合同登记的生效、变更及注销
状态信息
专利权质押合同登记的注销;IPC(主分类):A01G1/04;授权公告日:20120328;申请日:20101112;登记号:Y2022980014579;出质人:安徽黄山云乐灵芝有限公司;质权人:旌德县兴业融资担保有限公司;解除日:20230828
2022-09-23
专利权质押合同登记的生效、变更及注销
状态信息
专利权质押合同登记的生效;IPC(主分类):A01G1/04;登记号:Y2022980014579;登记生效日:20220906;出质人:安徽黄山云乐灵芝有限公司;质权人:旌德县兴业融资担保有限公司;发明名称:一种定向培养各种形态灵芝盆景的模具及方法;申请日:20101112;授权公告日:20120328
2022-09-23
专利权质押合同登记的生效、变更及注销
状态信息
专利权质押合同登记的注销;IPC(主分类):A01G1/04;授权公告日:20120328;申请日:20101112;登记号:Y2021990000851;出质人:安徽黄山云乐灵芝有限公司;质权人:旌德县兴业融资担保有限公司;解除日:20220905
2021-10-12
专利权质押合同登记的生效、变更及注销
状态信息
专利权质押合同登记的生效;IPC(主分类):A01G1/04;登记号:Y2021990000851;登记生效日:20210917;出质人:安徽黄山云乐灵芝有限公司;质权人:旌德县兴业融资担保有限公司;发明名称:一种定向培养各种形态灵芝盆景的模具及方法;申请日:20101112;授权公告日:20120328
2021-10-08
专利权质押合同登记的生效、变更及注销
状态信息
专利权质押合同登记的注销;IPC(主分类):A01G1/04;授权公告日:20120328;申请日:20101112;登记号:Y2020980006383;出质人:安徽黄山云乐灵芝有限公司;质权人:旌德县兴业融资担保有限公司;解除日:20210917
2020-10-23
专利权质押合同登记的生效、变更及注销
状态信息
专利权质押合同登记的生效;IPC(主分类):A01G1/04;登记号:Y2020980006383;登记生效日:20200923;出质人:安徽黄山云乐灵芝有限公司;质权人:旌德县兴业融资担保有限公司;发明名称:一种定向培养各种形态灵芝盆景的模具及方法;申请日:20101112;授权公告日:20120328
2020-10-20
专利权质押合同登记的生效、变更及注销
状态信息
专利权质押合同登记的注销;IPC(主分类):A01G1/04;授权公告日:20120328;申请日:20101112;登记号:Y2019340000052;出质人:安徽黄山云乐灵芝有限公司;质权人:旌德县兴业融资担保有限公司;解除日:20200923
2019-10-01
专利权质押合同登记的生效、变更及注销
状态信息
专利权质押合同登记的生效;IPC(主分类):A01G1/04;登记号:Y2019340000052;登记生效日:20190906;出质人:安徽黄山云乐灵芝有限公司;质权人:旌德县兴业融资担保有限公司;发明名称:一种定向培养各种形态灵芝盆景的模具及方法;申请日:20101112;授权公告日:20120328
2019-09-27
专利权质押合同登记的生效、变更及注销
状态信息
专利权质押合同登记的注销;IPC(主分类):A01G1/04;授权公告日:20120328;申请日:20101112;登记号:2018340000452;出质人:安徽黄山云乐灵芝有限公司;质权人:旌德县兴业融资担保有限公司;解除日:20190903
2018-09-28
专利权质押合同登记的生效、变更及注销
状态信息
专利权质押合同登记的生效;IPC(主分类):A01G1/04;登记号:2018340000452;登记生效日:20180831;出质人:安徽黄山云乐灵芝有限公司;质权人:旌德县兴业融资担保有限公司;发明名称:一种定向培养各种形态灵芝盆景的模具及方法;申请日:20101112;授权公告日:20120328
2018-09-11
专利权质押合同登记的生效、变更及注销
状态信息
专利权质押合同登记的注销;IPC(主分类):A01G1/04;授权公告日:20120328;申请日:20101112;登记号:2017340000226;出质人:安徽黄山云乐灵芝有限公司;质权人:旌德县兴业融资担保有限公司;解除日:20180817
2017-10-13
专利权质押合同登记的生效、变更及注销
状态信息
专利权质押合同登记的生效;IPC(主分类):A01G1/04;登记号:2017340000226;登记生效日:20170915;出质人:安徽黄山云乐灵芝有限公司;质权人:旌德县兴业融资担保有限公司;发明名称:一种定向培养各种形态灵芝盆景的模具及方法;申请日:20101112;授权公告日:20120328
2017-09-22
专利权质押合同登记的生效、变更及注销
状态信息
专利权质押合同登记的注销;IPC(主分类):A01G1/04;授权公告日:20120328;申请日:20101112;登记号:2016340000054;出质人:安徽黄山云乐灵芝有限公司;质权人:旌德县兴业融资担保有限公司;解除日:20170830
2016-10-19
专利权质押合同登记的生效、变更及注销
状态信息
专利权质押合同登记的生效;IPC(主分类):A01G1/04;登记号:2016340000054;登记生效日:20160923;出质人:安徽黄山云乐灵芝有限公司;质权人:旌德县兴业融资担保有限公司;发明名称:一种定向培养各种形态灵芝盆景的模具及方法;申请日:20101112;授权公告日:20120328
2012-03-28
授权
状态信息
授权
2011-07-06
实质审查的生效
状态信息
实质审查的生效;IPC(主分类):A01G 1/04申请日:20101112
2011-05-25
公布
状态信息
公布
摘要
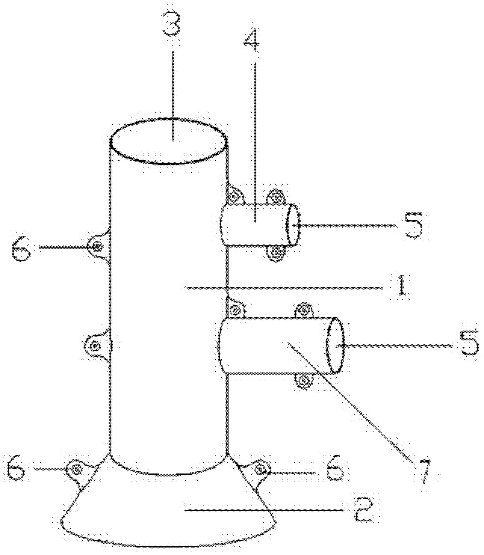
本发明公开了一种定向培养各种形态灵芝盆景的模具及方法,该模具包括两半式模具体(1)以及分别与各自模具体(1)一体相连的两半式底座(2),两半式模具体(1)和两半式底座(2)通过紧固件相对结合并拢形成完整的两端开放的透光空腔体(3)。该培养方法包括以下步骤:a、制备模具;b、按照常规方法培育灵芝;c、灵芝生长进入菌蕾期,加罩由a步骤准备好的模具,常规培养;d、白色菌丝在模具的空腔内逐渐长满后,即旋开模具上的紧固零件,继续培养至灵芝成型,处理后制成盆景。本发明的模具和方法可以定向培育不同形态的灵芝盆景,各形态的灵芝造型一致,广大农林种植户均可操作、耗工时少、成本低,易于规模化操作。


