授权公布号:CN113175831B
一种馅料冷却机构及包装机
有效
申请
2021-04-28
申请公布
2021-07-27
授权
2022-09-06
预估到期
2041-04-28
| 申请号 | CN202110466949.0 |
| 申请日 | 2021-04-28 |
| 申请公布号 | CN113175831A |
| 申请公布日 | 2021-07-27 |
| 授权公布号 | CN113175831B |
| 授权公告日 | 2022-09-06 |
| 分类号 | F28D7/08;F28F9/24;F25D31/00;B65B63/08;B65B3/10 |
| 分类 | 一般热交换; |
| 申请人名称 | 广东荣诚食品有限公司 |
| 申请人地址 | 广东省汕头市升平工业区沿河路40号 |
专利法律状态
2022-09-06
授权
状态信息
授权
2021-07-27
公布
状态信息
公布
摘要
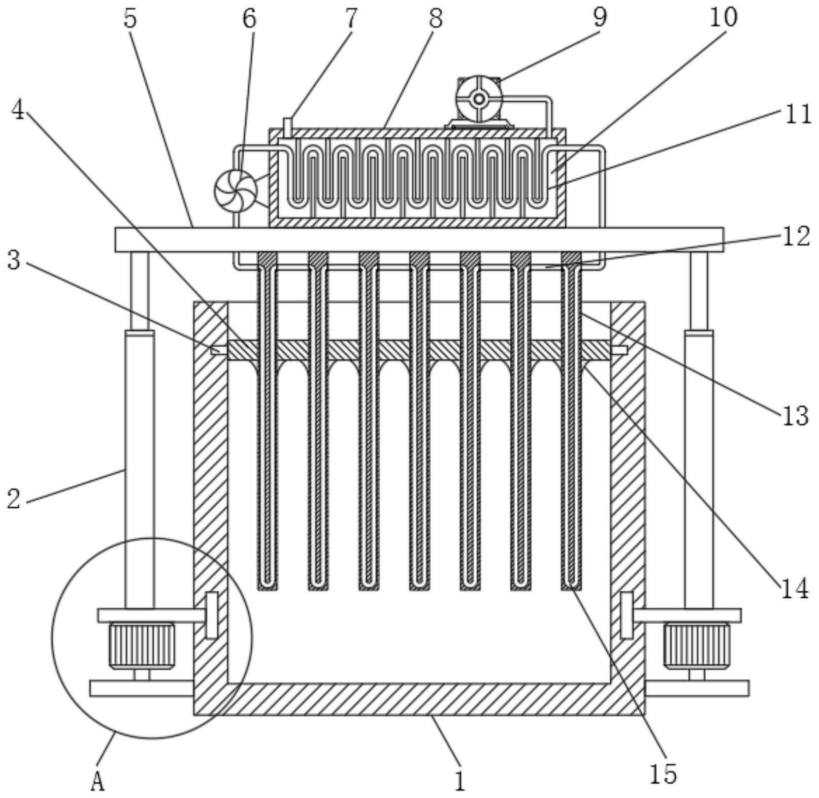
本发明实施例涉及食品加工技术领域,尤其涉及一种馅料冷却机构及包装机,用于对馅料进行冷却,包括承载部,还包括:冷却结构,所述冷却结构包括位于承载部开口方向的安装板,所述安装板靠近承载部的一侧设置有等距离分布的多个冷却件,用于冷却承载部内的物料;以及转动件,所述转动件转动设置于所述承载部内,且转动件上开有和冷却件相配合的安装孔;以及动力组件,所述动力组件设置于所述承载部的外侧,用于驱动安装板绕所述承载部的轴心线转动并靠近或远离所述承载部。本发明通过动力组件可以带动冷却件转动以及上下移动,可以将冷却件插入馅料的不同位置处,解决了馅料冷却不均匀的问题。


