授权公布号:CN217012501U
一种可拆卸的组合式烘焙模具
有效
申请
2022-01-28
申请公布
1970-01-01
授权
2022-07-22
预估到期
2032-01-28
| 申请号 | CN202220237923.9 |
| 申请日 | 2022-01-28 |
| 授权公布号 | CN217012501U |
| 授权公告日 | 2022-07-22 |
| 分类号 | A21B3/13;A21B3/18 |
| 分类 | 焙烤;制作或处理面团的设备;焙烤用面团〔1,8〕; |
| 申请人名称 | 北京市好利来食品有限公司 |
| 申请人地址 | 北京市朝阳区观音堂521文化园北201室 |
专利法律状态
2022-07-22
授权
状态信息
授权
摘要
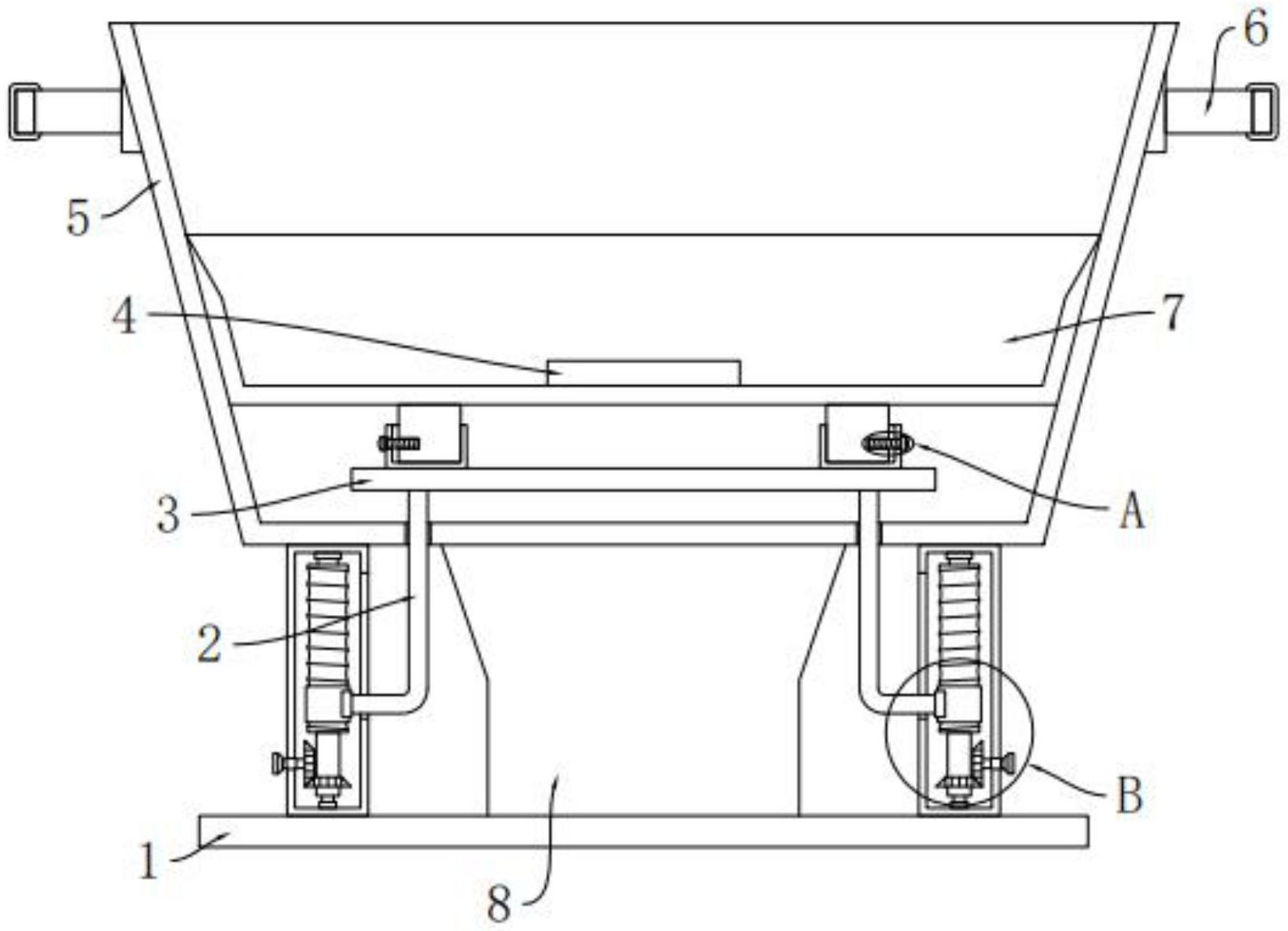
本实用新型公开了一种可拆卸的组合式烘焙模具,包括底板,底板顶端的中心位置处设有立座,立座远离底板的一端设有外模杯,外模杯内部的一端设有置物板,置物板上方的外模杯内部设有内模杯,内模杯底部的中心位置处设有模芯,外模杯顶部的两外侧壁上皆设有手柄,手柄的外壁上套装有防护套,防护套两端的手柄外壁上皆固定有定位环。本实用新型不仅便于对该烘焙模具进行端持处理,进而降低了烘焙模具使用时产生烫伤的现象,还能够使得内模杯带动烘焙食物的上端上移至外模杯的外部,进而便于对烘焙食物进行取出,而且能够对内模杯进行拆卸处理,进而可根据烘焙需求更换相应规格的内模杯。


