授权公布号:CN215918368U
一种巧克力喷砂涡轮净化设备
有效
申请
2021-07-20
申请公布
1970-01-01
授权
2022-03-01
预估到期
2031-07-20
| 申请号 | CN202121647494.4 |
| 申请日 | 2021-07-20 |
| 授权公布号 | CN215918368U |
| 授权公告日 | 2022-03-01 |
| 分类号 | B08B3/02;B08B3/14 |
| 分类 | 清洁; |
| 申请人名称 | 北京市好利来食品有限公司 |
| 申请人地址 | 北京市朝阳区观音堂文化大道甲6号北201室 |
专利法律状态
2022-03-01
授权
状态信息
授权
摘要
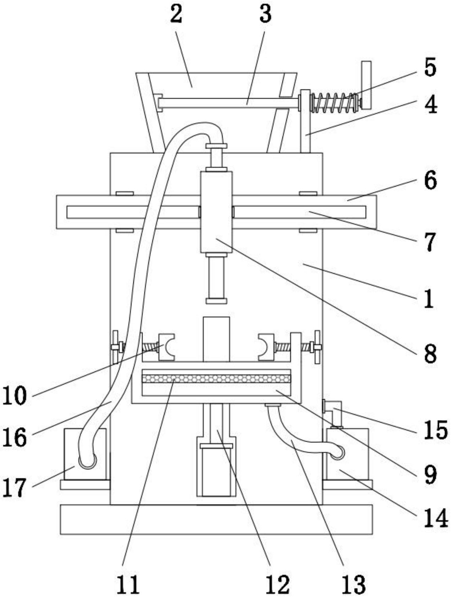
本实用新型公开了一种巧克力喷砂涡轮净化设备,包括连接板、闭合板、固定夹持件和第一水泵,连接板的顶部设置有进料斗,进料斗的内部连接设置有闭合板,进料斗外部的一侧连接设置有连接杆,连接杆的内部以及闭合板一端的外部连接设置有弹簧,连接板正面顶部的位置连接设置有行走横梁。本实用新型通过在可在连接杆的范围内向右拉动闭合板整体,可使闭合板整体随着拉力移动至进料斗一侧位置,则便于清洁物料可通过进料斗进入到储料箱内部,则闭合板也可通过弹簧的弹性回弹至进料斗内部,呈现关闭状态的进料斗可有效避免灰尘等杂物进入到连接板内部,可有效保护储料箱内部的环境。


