授权公布号:CN204909196U
一种生产蛋黄派用的打蛋机
有效
申请
2015-09-01
申请公布
1970-01-01
授权
2015-12-30
预估到期
2025-09-01
| 申请号 | CN201520676467.8 |
| 申请日 | 2015-09-01 |
| 授权公布号 | CN204909196U |
| 授权公告日 | 2015-12-30 |
| 分类号 | A47J43/14 |
| 分类 | 家具;家庭用的物品或设备;咖啡磨;香料磨;一般吸尘器; |
| 申请人名称 | 上海三辉麦风食品有限公司 |
| 申请人地址 | 上海市金山区金百路835号 |
专利法律状态
2015-12-30
授权
状态信息
授权
摘要
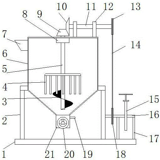
本实用新型公开了一种生产蛋黄派用的打蛋机,包括底座和打蛋箱,所述底座上方设有打蛋箱,打蛋箱箱底设有出料管,打蛋箱内设有搅拌轴,搅拌轴上端和打蛋箱之间设有轴承座,搅拌轴上设有搅拌架,粉碎架下侧的搅拌轴上设有螺旋搅拌叶,搅拌轴上端设有一号斜齿轮,一号斜齿轮右侧啮合二号斜齿轮,二号斜齿轮连接上传动轴,传动轴穿过支撑杆,传动轴右端设有上链条盘,上链条盘上设有传动链条,传动链条下端连接下链条盘,下链条盘上穿设有下传动轴,下传动轴右侧连接自行车驱动机构的后轮,本实用新型结构简单、合理、操作方便、廉价,不需要电力驱动,降低了加工成本,而且人们在驱动装置工作时也能起到锻炼的作用。


