授权公布号:CN210538498U
一种对圆柱状牛舌饼塑形装置
有效
申请
2019-09-07
申请公布
1970-01-01
授权
2020-05-19
预估到期
2029-09-07
| 申请号 | CN201921489621.5 |
| 申请日 | 2019-09-07 |
| 授权公布号 | CN210538498U |
| 授权公告日 | 2020-05-19 |
| 分类号 | A21C3/02;A21C9/08;A21C11/00 |
| 分类 | 焙烤;制作或处理面团的设备;焙烤用面团〔1,8〕; |
| 申请人名称 | 北京正隆斋全素食品有限公司 |
| 申请人地址 | 北京市海淀区上庄镇白水洼甲1号院内平房 |
专利法律状态
2020-05-19
授权
状态信息
授权
摘要
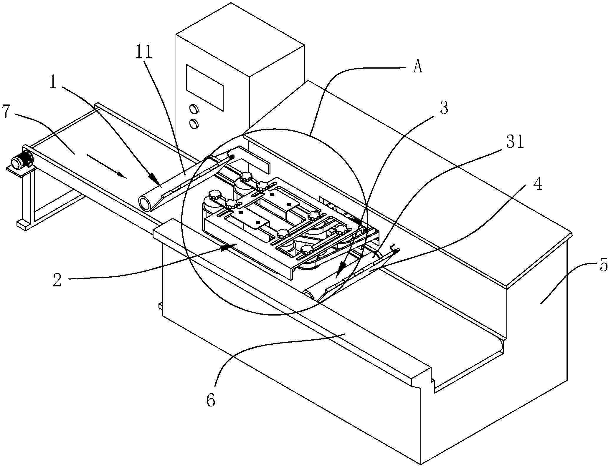
本实用新型涉及一种对圆柱状牛舌饼塑形装置,属于食品加工的技术领域,其包括物料传送带,物料传送带放置于支撑架上,支撑架的一侧固接于电机柜,沿物料传送带的行进方向依次设置有将圆柱状的牛舌饼压平的第一水平擀压装置、将压平的牛舌饼横向回压的横向回压装置和二次水平擀压的第二水平擀压装置;电机柜作为驱动装置,驱动第一水平擀压装置、横向回压装置和第二水平擀压装置。本实用新型具有提高生产效率的效果。


