授权公布号:CN212852329U
一种煎饼馃子薄脆添加装置
有效
申请
2020-06-23
申请公布
1970-01-01
授权
2021-04-02
预估到期
2030-06-23
| 申请号 | CN202021185642.0 |
| 申请日 | 2020-06-23 |
| 授权公布号 | CN212852329U |
| 授权公告日 | 2021-04-02 |
| 分类号 | A21C15/00 |
| 分类 | 焙烤;制作或处理面团的设备;焙烤用面团〔1,8〕; |
| 申请人名称 | 北京正隆斋全素食品有限公司 |
| 申请人地址 | 北京市海淀区上庄镇白水洼甲1号院内平房 |
专利法律状态
2021-04-02
授权
状态信息
授权
摘要
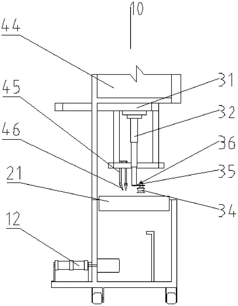
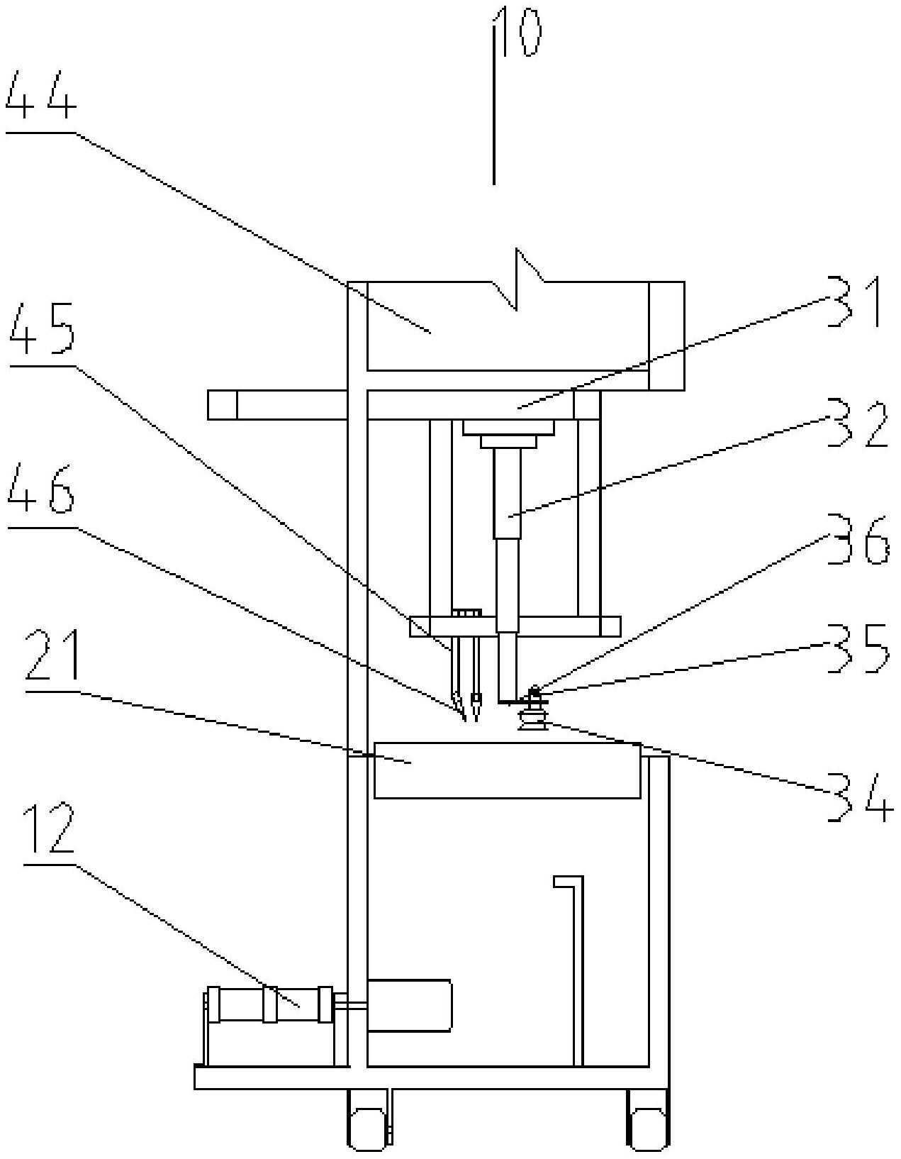
本实用新型提供了一种煎饼馃子薄脆添加装置,涉及食品加工设备技术领域,解决了现有技术中存在的薄脆添加主要通过手工或者简单的夹取工具来完成导致的生产效率低下的技术问题。该煎饼馃子薄脆添加装置包括装置本体,在装置本体上设置有薄脆储存机构、面皮输送机构以及薄脆添加机构,薄脆添加机构包括第一水平移动机构、第一竖直移动机构以及拾取机构,拾取机构能在第一水平移动机构或第一竖直移动机构的驱动下沿水平或竖直方向移动,将薄脆储存机构上储存的薄脆运送至面皮输送机构上。本实用新型用于提供一种由机械代替人工完成煎饼馃子薄脆添加,提高生产效率的煎饼馃子薄脆添加装置。


