授权公布号:CN209352242U
一种冷漂机淀粉收集装置
有效
申请
2018-11-23
申请公布
1970-01-01
授权
2019-09-06
预估到期
2028-11-23
| 申请号 | CN201821947913.4 |
| 申请日 | 2018-11-23 |
| 授权公布号 | CN209352242U |
| 授权公告日 | 2019-09-06 |
| 分类号 | B65G65/32;B04B5/12 |
| 分类 | 输送;包装;贮存;搬运薄的或细丝状材料; |
| 申请人名称 | 西安天使食品有限责任公司 |
| 申请人地址 | 陕西省西安市经济技术开发区泾河工业园区泾渭二路 |
专利法律状态
2019-09-06
授权
状态信息
授权
摘要
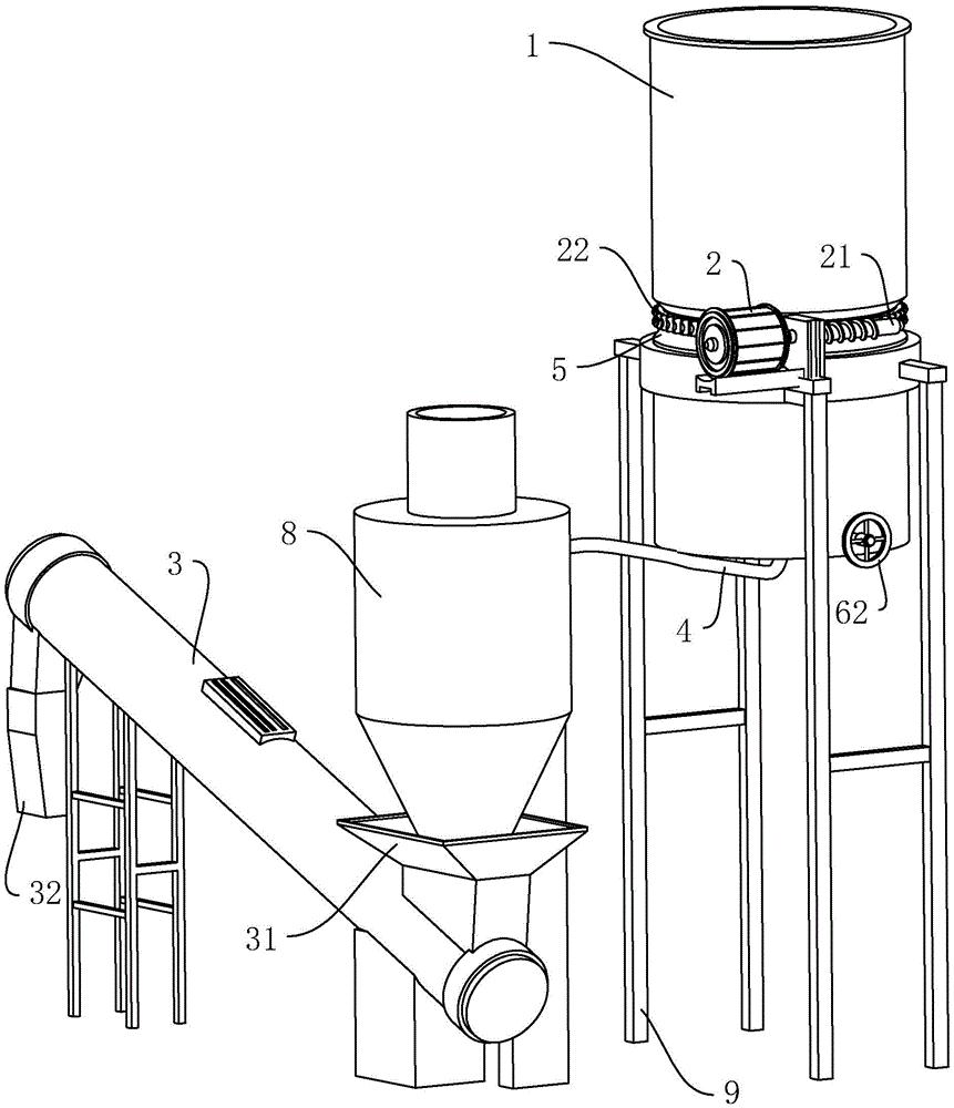
本实用新型公开了一种冷漂机淀粉收集装置,涉及薯片加工设备技术领域,旨在解决淀粉收集过程劳动强度较大,且受天气情况限制,导致收集效率不高的问题。其技术方案要点是,包括滚筒,用于驱动滚筒旋转的驱动装置、旋流器以及淀粉烘干机,驱动装置包括电机、蜗杆以及与蜗杆啮合的蜗轮,蜗轮安装在滚筒的外侧面上且与滚筒同轴;滚筒包括底板、筒体以及排水管;排水管位于底板底面中心处,排水管与旋流器的进料口相连接。滚筒旋转,分离淀粉水与薯渣,淀粉水从排水管流入旋流器,离心沉降后淀粉从旋流器的出料口进入淀粉烘干机,烘干后即可回收利用,比起人工收渣沥干再日晒,大大节约了时间,达到提高淀粉收集效率的目的。


