授权公布号:CN209768735U
一种薯片油炸装置
有效
申请
2018-11-23
申请公布
1970-01-01
授权
2019-12-13
预估到期
2028-11-23
| 申请号 | CN201821952213.4 |
| 申请日 | 2018-11-23 |
| 授权公布号 | CN209768735U |
| 授权公告日 | 2019-12-13 |
| 分类号 | A21B5/08 |
| 分类 | 焙烤;制作或处理面团的设备;焙烤用面团〔1,8〕; |
| 申请人名称 | 西安天使食品有限责任公司 |
| 申请人地址 | 陕西省西安市经济技术开发区泾河工业园区泾渭二路 |
专利法律状态
2019-12-13
授权
状态信息
授权
摘要
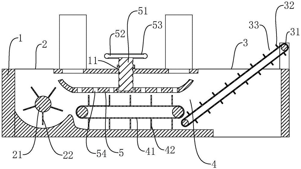
本实用新型公开了一种薯片油炸装置,涉及薯片加工技术领域,旨在解决现有技术中薯片传送过程中薯片易挤压损坏的问题。其技术方案要点是包括油炸机本体,所述油炸机本体的顶壁两端分别设置有进料口和出料口,所述油炸机本体内设置有与进料口和出料口均相通的油槽,所述油槽内设置有将薯片由进料口传送至出料口的传送链条;所述油槽内设置有位于传送链条上方的压板。本实用新型达到了提高薯片质量的效果。


