授权公布号:CN211053853U
一种便于换刀的离心式切片机
有效
申请
2019-11-08
申请公布
1970-01-01
授权
2020-07-21
预估到期
2029-11-08
| 申请号 | CN201921917666.8 |
| 申请日 | 2019-11-08 |
| 授权公布号 | CN211053853U |
| 授权公告日 | 2020-07-21 |
| 分类号 | B26D7/26 |
| 分类 | 手动切割工具;切割;切断; |
| 申请人名称 | 西安天使食品有限责任公司 |
| 申请人地址 | 陕西省西安市经济技术开发区泾河工业园区泾渭二路 |
专利法律状态
2020-07-21
授权
状态信息
授权
摘要
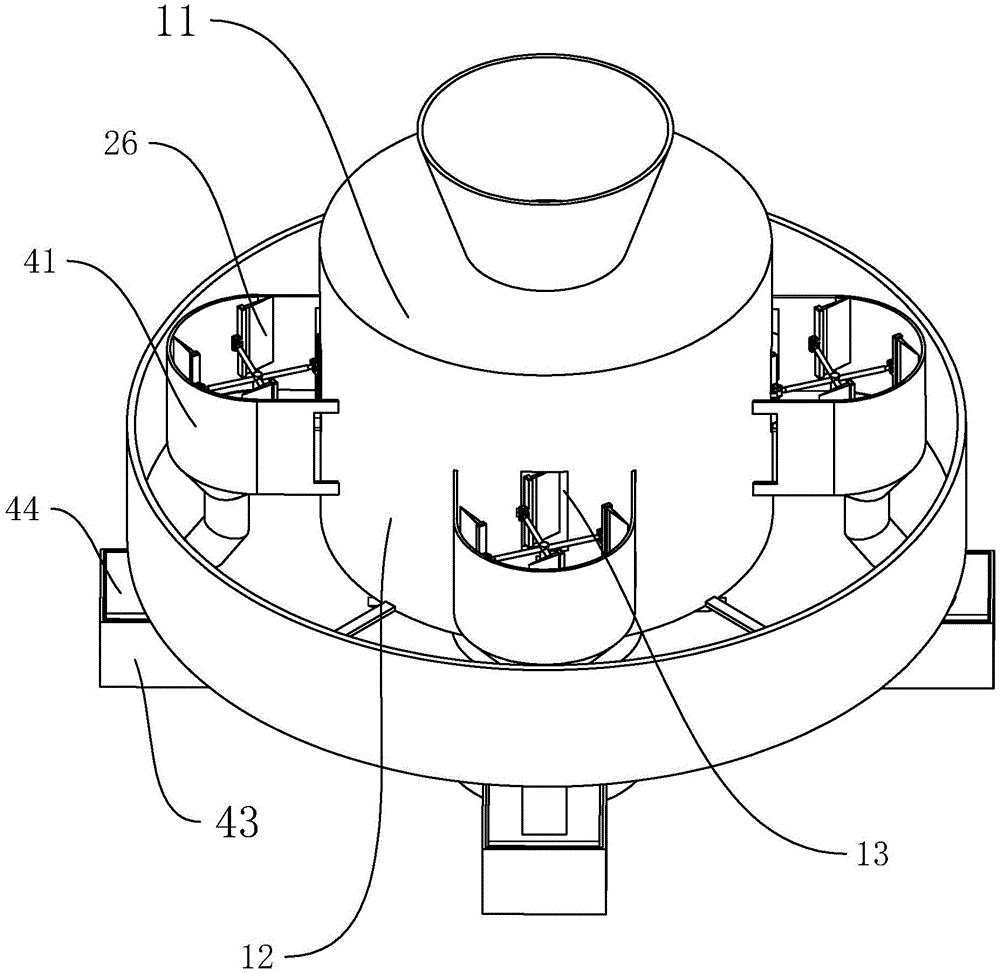
本实用新型公开了一种便于换刀的离心式切片机,涉及食品切片设备技术领域。其技术要点是:一种便于换刀的离心式切片机,包括转盘、驱动转盘转动的驱动件、以及供物料作离心运动并切片的切片筒,所述切片筒包括固定圆环,所述固定圆环上开设有出料孔,所述出料孔远离切片筒中心的一侧设有换刀组件,所述换刀组件包括主轴和底座,所述主轴与底座转动连接,所述底座上设置有限制主轴转动的限位组件,所述主轴上设有与其垂直且固定连接的若干连杆,所述连杆远离主轴的一端连接有刀座,所述刀座上可拆卸连接有切刀。本实用新型具有方便更换切刀、操作简单的优点。


