授权公布号:CN209768949U
一种滚筒调料机
有效
申请
2018-11-26
申请公布
1970-01-01
授权
2019-12-13
预估到期
2028-11-26
| 申请号 | CN201821972086.4 |
| 申请日 | 2018-11-26 |
| 授权公布号 | CN209768949U |
| 授权公告日 | 2019-12-13 |
| 分类号 | A23P30/00 |
| 分类 | 其他类不包含的食品或食料;及其处理; |
| 申请人名称 | 西安天使食品有限责任公司 |
| 申请人地址 | 陕西省西安市经济技术开发区泾河工业园区泾渭二路 |
专利法律状态
2019-12-13
授权
状态信息
授权
摘要
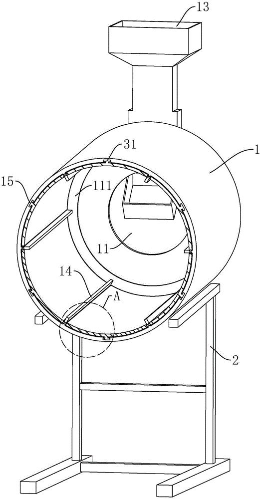
本实用新型公开了一种滚筒调料机,属于食品加工领域,其包括机架和设置在机架上的滚筒,其特征在于:所述滚筒内部覆盖有清理板,所述清理板的设置数量大于一个,所述清理板与滚筒内侧壁之间为可拆卸连接。本实用新型具有便于对调料机内部的调味料以及食材残渣进行清理的效果。


