授权公布号:CN216550983U
一种过滤用树枝状纺粘非织造布的生产系统
有效
申请
2021-11-29
申请公布
1970-01-01
授权
2022-05-17
预估到期
2031-11-29
| 申请号 | CN202122953700.0 |
| 申请日 | 2021-11-29 |
| 授权公布号 | CN216550983U |
| 授权公告日 | 2022-05-17 |
| 分类号 | D04H1/728;D04H1/558 |
| 分类 | 编织;花边制作;针织;饰带;非织造布; |
| 申请人名称 | 广东必得福医卫科技股份有限公司 |
| 申请人地址 | 广东省佛山市南海区沙头石江工业区 |
专利法律状态
2022-05-17
授权
状态信息
授权
摘要
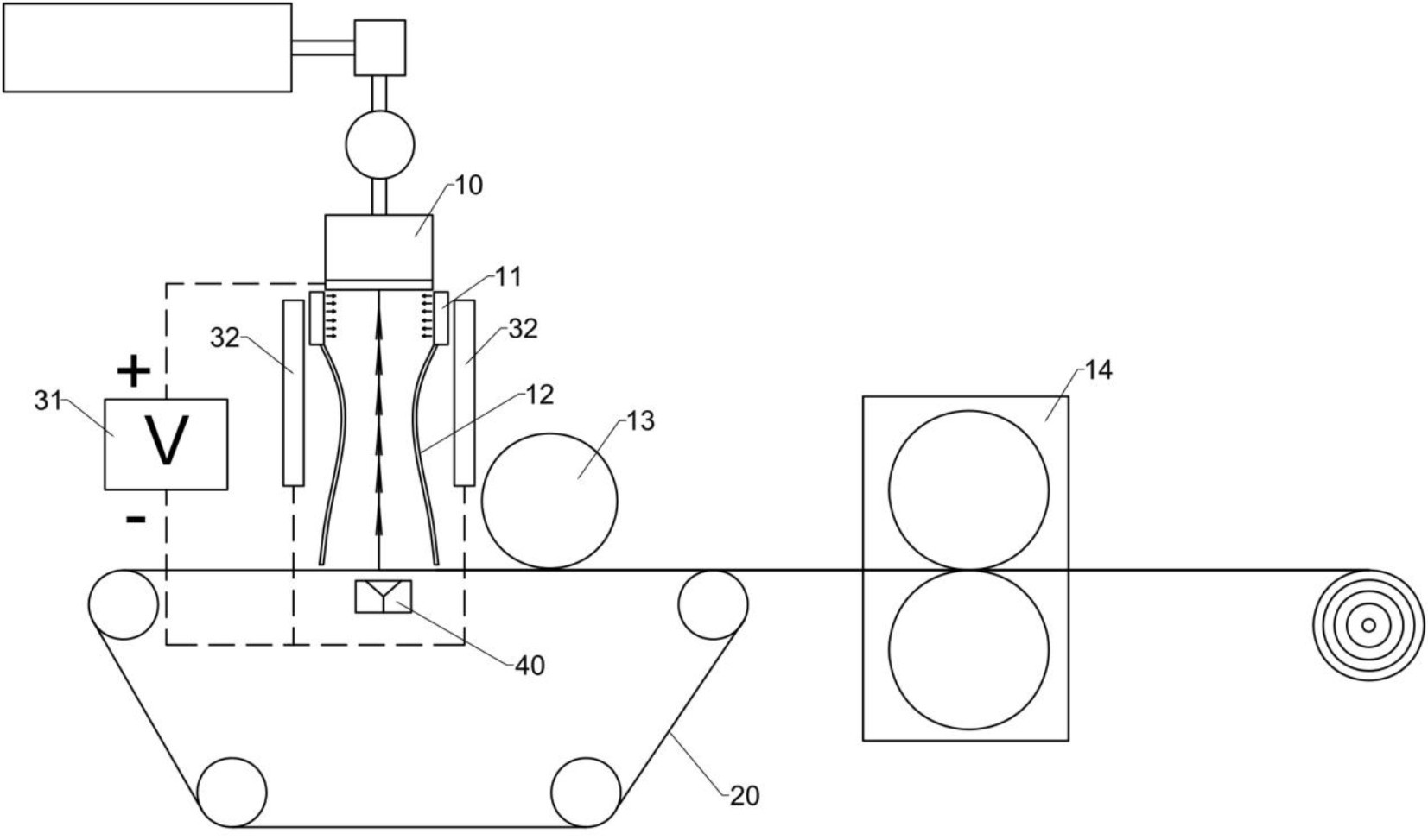
本实用新型公开了一种过滤用树枝状纺粘非织造布的生产系统,包括纺粘组件和成网机,其中,所述成网机用于接收纺粘组件喷出的纤维并积聚成网,包括静电纺丝机构,所述静电纺丝机构包括两块电极板和高压电源,其中,两块所述电极板位于纺粘组件和成网机之间且两块所述电极板呈水平间隔布置在纺粘组件下方的两侧位置;所述高压电源的正极与纺粘组件的喷丝板相连接,所述高压电源的负极与两块电极板相连接。


