授权公布号:CN215849607U
一种可摆动的淋膜机
有效
申请
2021-07-26
申请公布
1970-01-01
授权
2022-02-18
预估到期
2031-07-26
| 申请号 | CN202121705254.5 |
| 申请日 | 2021-07-26 |
| 授权公布号 | CN215849607U |
| 授权公告日 | 2022-02-18 |
| 分类号 | B29C55/10 |
| 分类 | 塑料的加工;一般处于塑性状态物质的加工; |
| 申请人名称 | 广东必得福医卫科技股份有限公司 |
| 申请人地址 | 广东省佛山市南海区沙头石江工业区 |
专利法律状态
2022-02-18
授权
状态信息
授权
摘要
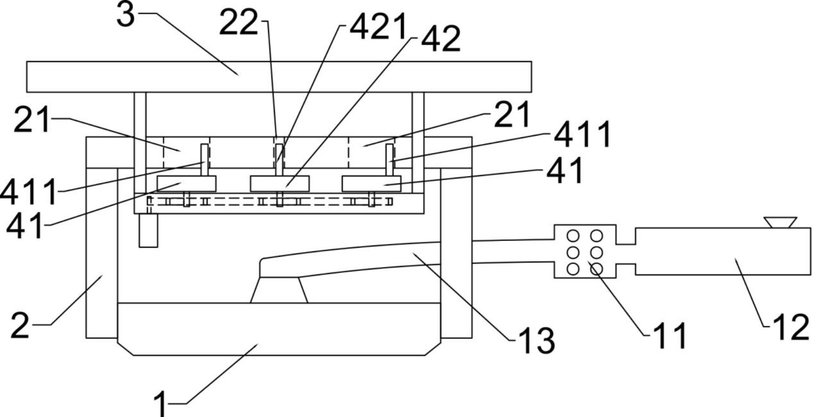
本实用新型公开了一种可摆动的淋膜机,包括模头、活动支架、固定支架以及设于固定支架上的摆动驱动机构,所述模头固定安装于活动支架上,所述活动支架的水平面上开设有至少一个第一导向槽和至少一个第二导向槽,所述第一导向槽与第二导向槽呈垂直布置;所述摆动驱动机构包括同步旋转动作的至少一个第一旋转圆盘和至少一个第二旋转圆盘,其中,所述第一旋转圆盘上设有呈偏心布置且与第一导向槽相滑动连接的第一滑块,所述第二旋转盘圆上设有呈偏心布置且与第二导向槽相滑动连接的第二滑块,基于上述结构的淋膜机实现了模头的自动摆动,摆动驱动机构更加稳定可靠,减少人工损耗的同时确保了膜面的均匀度。


