授权公布号:CN219218331U
一种低刺激复合非织造布生产设备
有效
申请
2022-11-11
申请公布
1970-01-01
授权
2023-06-20
预估到期
2032-11-11
| 申请号 | CN202223008021.7 |
| 申请日 | 2022-11-11 |
| 授权公布号 | CN219218331U |
| 授权公告日 | 2023-06-20 |
| 分类号 | D04H3/007;D04H3/147;D04H3/14;D04H3/02;D04H5/04;D04H5/06;B32B37/06;B32B37/10;B32B37/12 |
| 分类 | 编织;花边制作;针织;饰带;非织造布; |
| 申请人名称 | 广东必得福医卫科技股份有限公司 |
| 申请人地址 | 广东省佛山市南海区沙头石江工业区 |
专利法律状态
2023-06-20
授权
状态信息
授权
摘要
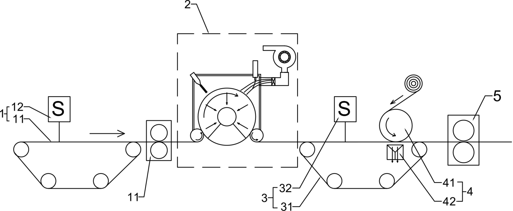
本实用新型公开了一种低刺激复合非织造布生产设备,包括沿输送方向依次布置的第一纺粘组件、夹层组件、第二纺粘组件和透气层组件,所述第一纺粘组件用于制备皮芯型双组分纺粘层;所述夹层组件包括密封罩、设于密封罩内的抽吸辊筒、以及依次环设在抽吸辊筒外围的热熔胶喷头、颗粒喷头和木浆模头,所喷出的热熔胶、吸水树脂颗粒和木浆纤维被吸附在绕设于抽吸辊筒上的皮芯型双组分纺粘层上形成吸收层;相层叠的所述皮芯型双组分纺粘层和吸收层共同转送至第二纺粘组件处承接第二纺粘组件所制备的普通纺粘层;所述透气层组件用于牵引透气膜层叠附在普通纺粘层表面上,从而得到所需的低刺激复合非织造布。


