授权公布号:CN217532192U
一种新式无纺布复合设备
有效
申请
2022-08-01
申请公布
1970-01-01
授权
2022-10-04
预估到期
2032-08-01
| 申请号 | CN202123369979.4 |
| 申请日 | 2022-08-01 |
| 授权公布号 | CN217532192U |
| 授权公告日 | 2022-10-04 |
| 分类号 | B32B37/12;B32B37/10;B32B37/15;B32B37/00;D04H3/16;B05C1/08 |
| 分类 | 层状产品; |
| 申请人名称 | 广东必得福医卫科技股份有限公司 |
| 申请人地址 | 广东省佛山市南海区沙头石江工业区 |
专利法律状态
2022-10-04
授权
状态信息
授权
摘要
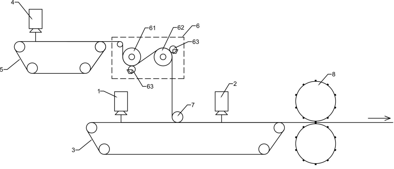
本实用新型公开了一种新式无纺布复合设备,包括第一成网机、第二成网机、沿第一成网机输送方向依次布置的第一纺粘模头和第二纺粘模头、设于第二成网机上的第三纺粘模头、双面上胶组件以及复合辊组,所述第二成网机承接第三纺粘模头所喷出纺粘纤维以成网形成夹层纺粘层,所述第一成网机承接第一纺粘模头所喷出的纺粘纤维以成网形成第一纺粘面层,并且第一纺粘面层随着第一成网机的成网面逐渐输送前移,从而依次承接经上胶操作后的夹层纺粘层以及第二纺粘模头所喷出的纺粘纤维,其通过两所述复合压辊的复合凸点相对压配合以将层叠在一起的第一纺粘面层、夹层纺粘层和第二纺粘面层复合在一起。


